Innovations | Sram : le futur dérailleur réparable de A à Z ?

Par Léo Kervran -

  • Tech

Innovations | Sram : le futur dérailleur réparable de A à Z ?

De nouvelles informations sur le futur dérailleur Sram ? En se promenant dans les bibliothèques de brevets nous sommes tombés sur un document qui montre comment le prochain dérailleur de la marque, repéré pour la première fois aux Gets lors des derniers championnats du monde, pourrait être (presque) entièrement démontable et réparable à la main, chez soi. De quoi répondre aux craintes quant à la nouvelle interface de fixation sans patte de dérailleur ?

Si la cassette, la chaîne ou encore la chape de dérailleur semblent évoluer, ce qui a fait le plus parler est la nouvelle interface de fixation sur le cadre : il n’y a plus de patte de dérailleur ! On sait que certaines marques sont particulièrement critiques quant à la fragilité de ce petit objet, prétendument incompatible avec la précision d’alignement requise par les transmissions monoplateau 11 ou 12 vitesses mais, sur le papier, c’est aussi cette fragilité qui fait son intérêt, en faisant d’elle un fusible pour ne pas abîmer d’autres pièces plus coûteuses.

Quoi qu’il en soit, Sram travaille sérieusement sur un dérailleur en montage direct et une demande de brevet rendue publique dans les tout derniers jours de 2022 (le 29 décembre, précisément) montre en détails comment la marque compte vraisemblablement s’y prendre pour répondre aux inquiétudes sur la durée de vie de son nouveau bébé.

Comme tout brevet, le document commence par une section intitulée « Contexte » mais ici elle est particulièrement fournie. Sram a en effet décidé d’y lister tous les arguments qui l’ont conduit à abandonner la patte de dérailleur : peut mettre un terme à la sortie et risque d’abîmer la roue ou le cadre si elle se plie trop fort ou casse pour de bon, possibles variations du positionnement du dérailleur suivant les marques de vélo, trop faible pour résister ne serait-ce qu’aux forces appliquées par la chaîne et le dérailleur sur les cassettes modernes et leur grande plage de rapports… On ne peut pas tout lister ici mais si l’anglais ne vous dérange pas on vous recommande d’aller voir par vous-même (lien en bas de cette page), c’est plutôt intéressant et c’est rare d’avoir autant d’explications dans une demande de brevet.

On notera également que Sram mentionne un certain souci d’éco-conception comme argument pour un dérailleur plus facile à réparer. Il arrive certes en dernier mais encore une fois, c’est quelque chose qu’on n’a pas l’habitude de voir dans ce genre de document : « Une évolution qui touche de plus en plus le marché de la bicyclette est la nécessité générale de réduire la consommation de ressources dans la fabrication et l’utilisation des produits techniques. Cette réduction de la consommation de ressources est de plus en plus exigée par les consommateurs ainsi que par la société et les législateurs. Les développements sociaux et législatifs s’éloignent ainsi de la mentalité du jetable souvent rencontrée dans le passé et posent des exigences croissantes en matière de durée de vie et de réparabilité des produits techniques. »

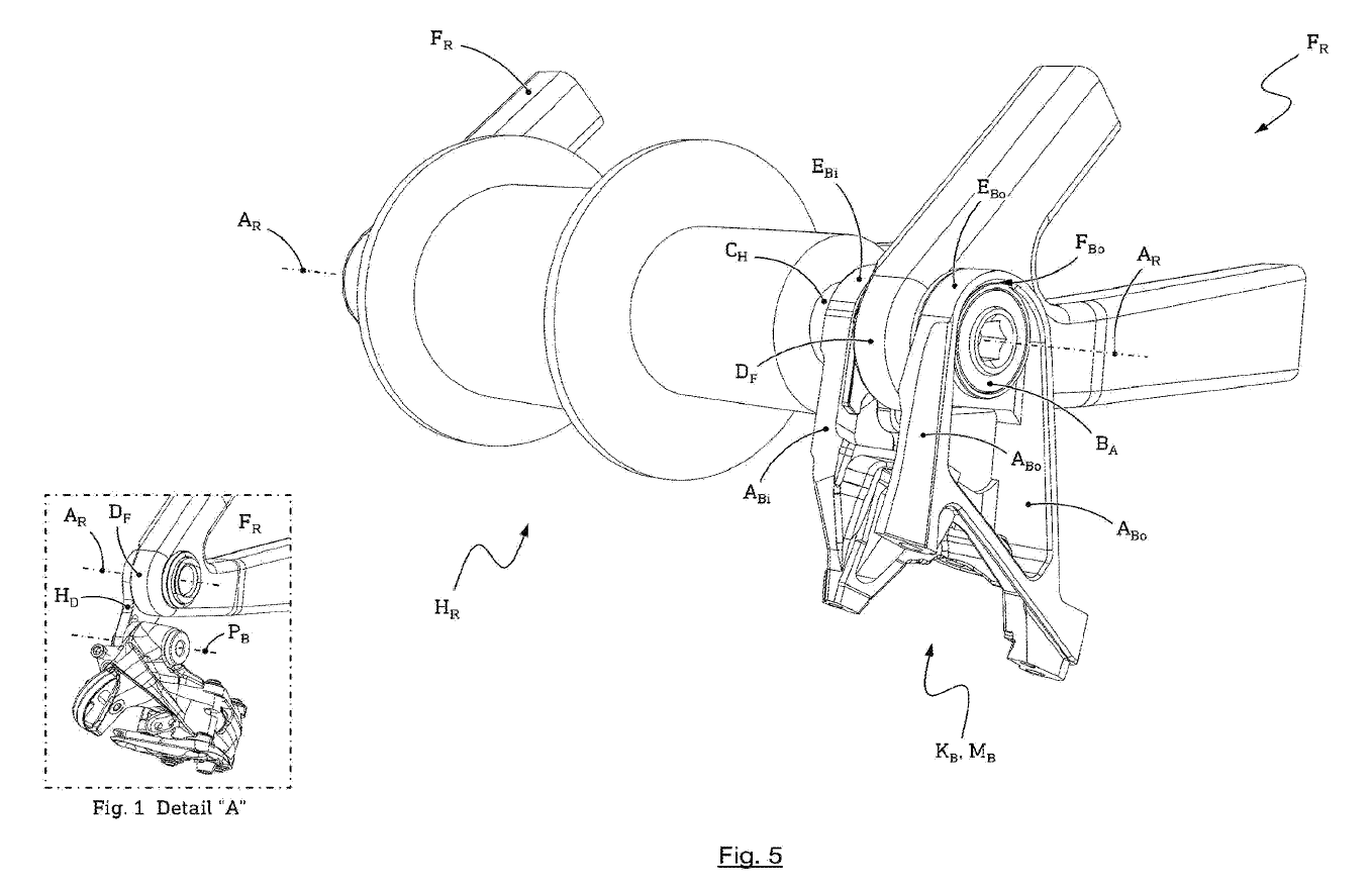
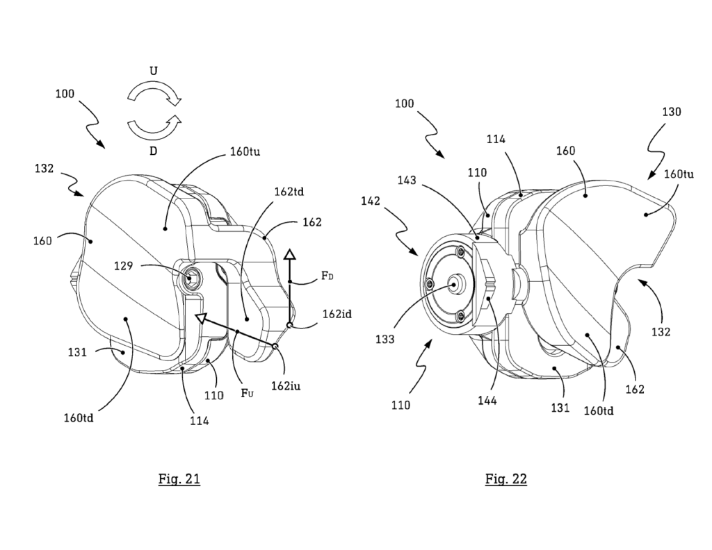
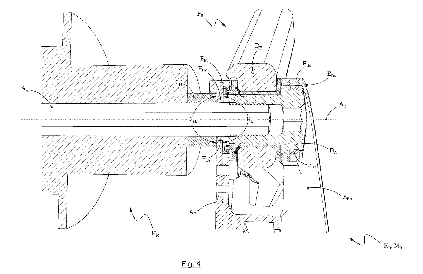
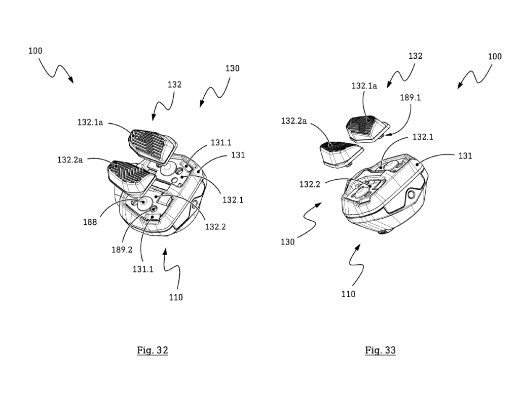
Place à la description et au technique. Que voit-on ? Comme ce dessin l’illustre, le dérailleur serait séparable en différents ensembles chacun facilement remplaçable, pour réparer ou même améliorer certains éléments : « En raison du système de construction modulaire hiérarchique dans lequel les modules et sous-ensembles sont configurés pour être échangés et manipulés comme une seule pièce, seul le module ou sous-ensemble concerné doit être détaché des modules ou sous-ensembles adjacents du dérailleur, ou reconnecté à ceux-ci. […] En outre, il est possible de remplacer des sous-ensembles ou des modules du dérailleur arrière par des sous-ensembles ou des modules correspondants de qualité supérieure ou présentant des caractéristiques supplémentaires, par exemple, afin d’obtenir un produit de qualité supérieure à un coût faible ou modéré, sans avoir à acheter un dérailleur arrière entièrement neuf et à se débarrasser de l’ancien dérailleur. » »

Plus intéressant encore, l’opération serait facile à faire soi-même : « Grâce à la mise à disposition d’interfaces de connexion standardisées pour tous les membres de la famille, cet échange peut également être effectué à tout moment […] par les ateliers spécialisés et même par l’utilisateur final, sans grand effort. Dans un autre mode de réalisation, les modules ou sous-ensembles du dérailleur arrière sont configurés pour être remplaçables sans outils, ou avec des outils ménagers standard, et donc facilement aussi par un utilisateur final, par exemple. »

Parmi ces éléments ou « familles » évoquées, la chape de dérailleur serait littéralement remplaçable en un tour de main. Le document détaille en effet une conception où il suffirait de la dévisser à la main dans le sens inverse des aiguilles d’une montre pour la séparer du reste du dérailleur. De quoi passer facilement d’une chape en aluminium à une en carbone ou changer tout aussi facilement le système de stabilisation de la chape : « En outre, il est également possible et prévu […] de fournir des dispositifs ressort/amortisseur avec différentes caractéristiques fonctionnelles qui peuvent être acquis par le client […] dans le sens d’une mise à niveau de leur dérailleur de bicyclette. Il s’agit en particulier de dispositifs amortisseurs à ressort avec, par exemple, un amortisseur à friction mécanique d’une part et un amortisseur hydraulique de qualité supérieure d’autre part, ou avec des amortisseurs à friction mécanique de construction, de poids et de qualité différents. »

Plus haut sur le dérailleur, le remplacement du bras extérieur du parallélogramme et d’une « crashbox » sont également détaillés. En ce qui concerne le premier, la demande de brevet ne parle pas d’opération sans outils mais indique qu’il n’y aurait pas besoin de démonter tout le parallélogramme et ses axes pour procéder à l’opération.

La « crashbox », matérialisée par le repère EBC sur les schémas ci-dessus, aurait pour seule fonction de protéger les éléments situés en dessous. En d’autres termes, elle a vocation à être cassée et doit donc pouvoir être remplacée facilement : « Lélément de recouvrement EBC est formé et disposé de telle sorte qu’il puisse absorber les dommages typiques qui se produisent fréquemment sur les dérailleurs arrière des bicyclettes pendant leur fonctionnement, par exemple en raison de chutes, de la chute de la bicyclette ou du contact avec des obstacles tels que des branches d’arbre, des racines ou des pierres pendant une utilisation sportive, et protéger ainsi les autres parties du dérailleur arrière […] contre de tels dommages. »

La partie moteur et réducteur de vitesse pourrait également être remplacée si on en croit le document : « Selon un autre mode de réalisation du dérailleur de bicyclette, il est prévu que […] le module électrique a au moins un sous-ensemble électrique remplaçable […]. Dans un mode de réalisation, au moins un sous-ensemble électrique remplaçable est un sous-ensemble moteur électrique-boîte de vitesses ou une unité de batterie. »  La batterie remplaçable et interchangeable, ça existe déjà et c’est même l’une des principales caractéristiques des groupes AXS. Le moteur remplaçable nous paraît un peu plus improbable d’autant que nous n’avons jamais entendu parler de moteur hors service sur ces dérailleurs, mais on peut imaginer que Sram souhaite se garder toutes les portes ouvertes.

On découvre par ailleurs plus d’informations sur le mode de fixation du dérailleur au cadre. Comme on peut le voir sur ces vues, il semble venir prendre appui sur l’axe de roue une fois celle-ci installée plutôt que sur le cadre en lui-même. De quoi protéger un peu mieux le triangle arrière en cas de choc ?

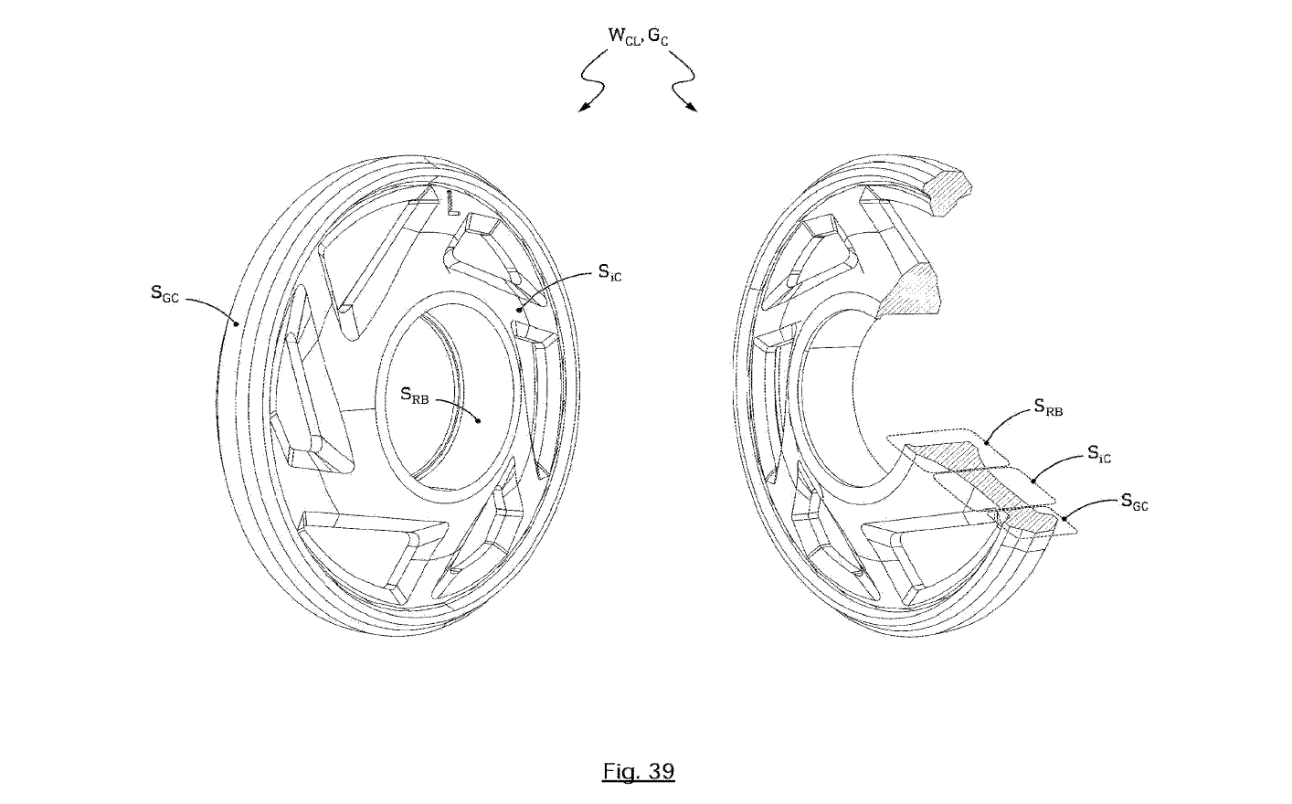
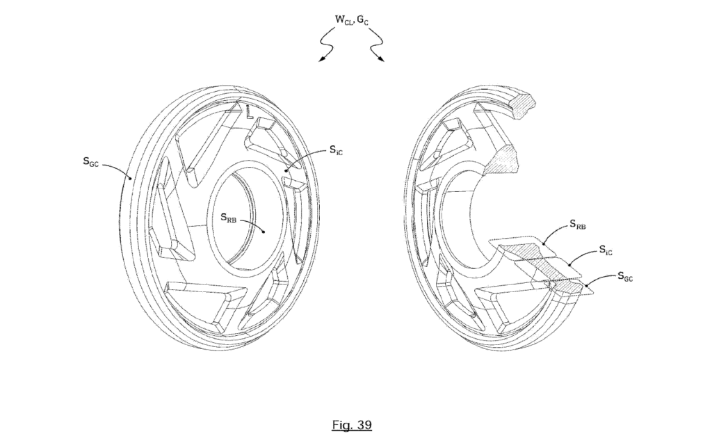
Enfin, le document évoque un dernier élément plus original : un galet de tension (le galet inférieur de la chape de dérailleur)… sans dents. D’après ce qu’on peut lire, elles ne seraient pas nécessaires à cet endroit car ce galet n’a aucune fonction de guidage latéral et s’en passer permettrait d’avoir un galet qui attire moins la boue et les diverses saletés, donc un dérailleur plus fiable. Nous n’avons rien vu de tel sur les prototypes des championnats du monde.

D’autres surprises ?

Restez encore un peu, ce dérailleur n’était pas notre seule trouvaille dans les bibliothèques de brevets… Nous avons découvert deux autres documents intéressants toujours en lien avec la transmission.

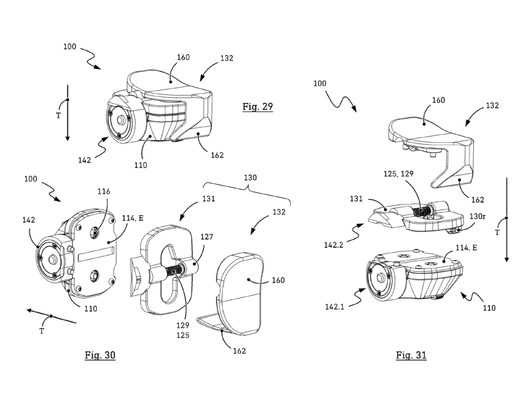
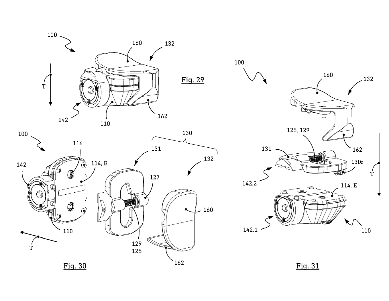
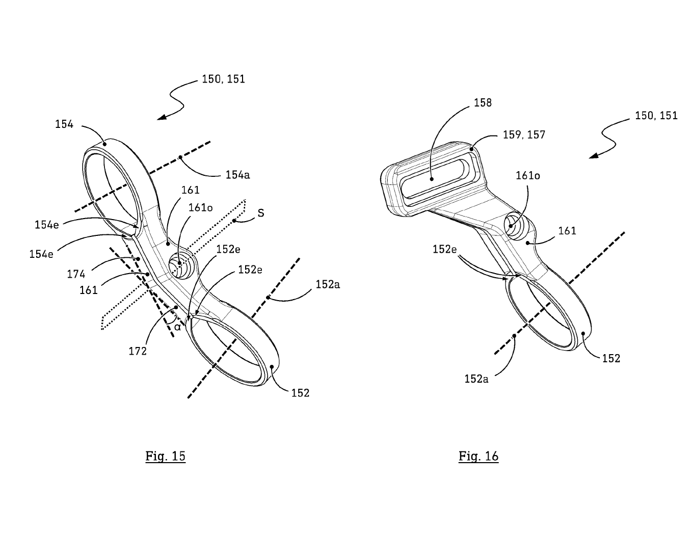
Le premier concerne une nouvelle commande AXS, d’un format complètement différent de celle que nous connaissons aujourd’hui. Comme pour le dérailleur, le principe de base est de proposer un support très modulaire qui peut facilement être modifié ou adapté. Toutefois, c’est dans une certaine mesure déjà le cas de la commande actuelle, mais ce nouveau support semble bien plus petit et moins encombrant.

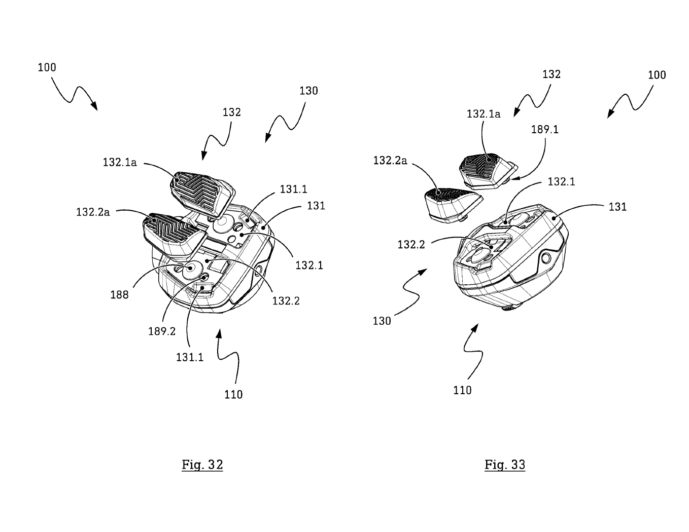
Comme on peut le voir sur les dessins, cette commande serait composée d’une base qui renfermerait toute la partie électronique et de « boutons » qui viendraient simplement se clipser dessus : « La configuration […] permet à l’utilisateur de placer le module mécanique sur le module électronique perpendiculairement au plan d’interface et de le fixer sur ce module électronique notamment sans outil, par exemple au moyen d’une liaison par encliquetage. »

De la même façon qu’avec la commande actuelle, Sram semble déjà envisager différentes formes de boutons pour convenir aux préférences de chacun : « Les composants mécaniques, […] sont développés principalement pour les différentes exigences et préférences ergonomiques des différents utilisateurs. Par conséquent, afin de réduire les coûts et le temps de production, il est souhaitable de concevoir les composants mécaniques de manière à ce qu’ils puissent être remplacés avec le moins d’effort possible, de sorte que différents composants mécaniques puissent être combinés avec la même électronique, c’est-à-dire construits de manière modulaire. »

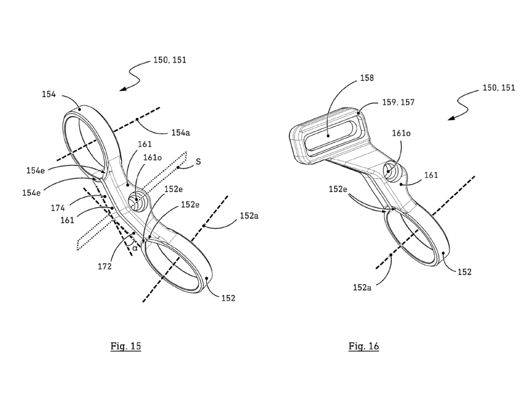
Reste qu’une commande bien conçue, c’est bien, mais si on ne peut la placer au bon endroit, on n’en tirera jamais tout le potentiel. Qui n’a jamais pesté parce que la forme de tel boîtier ou de tel collier empêchait de placer une manette à l’endroit idéal ? Chez Sram, on a visiblement eu la même réflexion et la demande de brevet présente plusieurs nouveaux supports adaptés à cette manette. Façon Matchmaker pour aller sur le levier de frein ou à collier baptisée « Infinity Clamp », toutes les options sont envisagées. On remarque que « l’Infinity Clamp », vraisemblablement baptisé de la sorte du fait de sa forme en 8, n’utilise qu’une seule vis pour sécuriser à la fois la commande et sa position sur le cintre grâce à une forme bien pensée qui vient pincer les deux éléments.

Pour l’anecdote on notera que si une petite pile ou batterie devrait toujours être la source d’énergie priorisée, Sram n’a pas abandonné ses idées originales dans le domaine : « Les alternatives possibles comprennent également le stockage d’énergie rechargeable, alimenté par des cellules solaires ou des convertisseurs audio vibrants ou toute autre source d’énergie externe qui génère de l’énergie électrique à partir des chocs et des vibrations qui se produisent pendant le déplacement. »

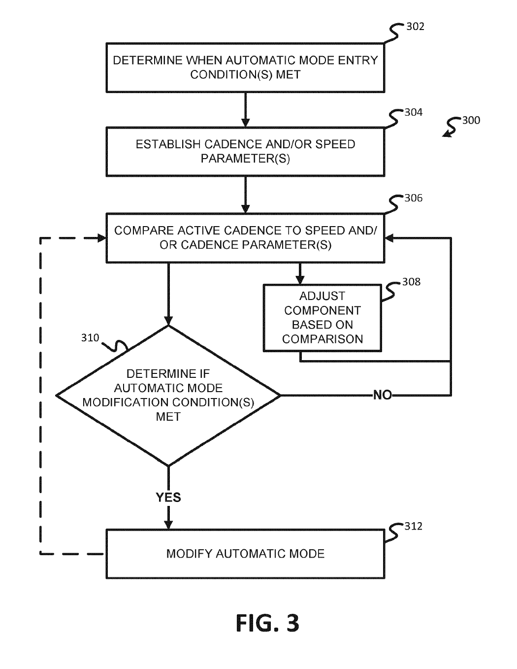
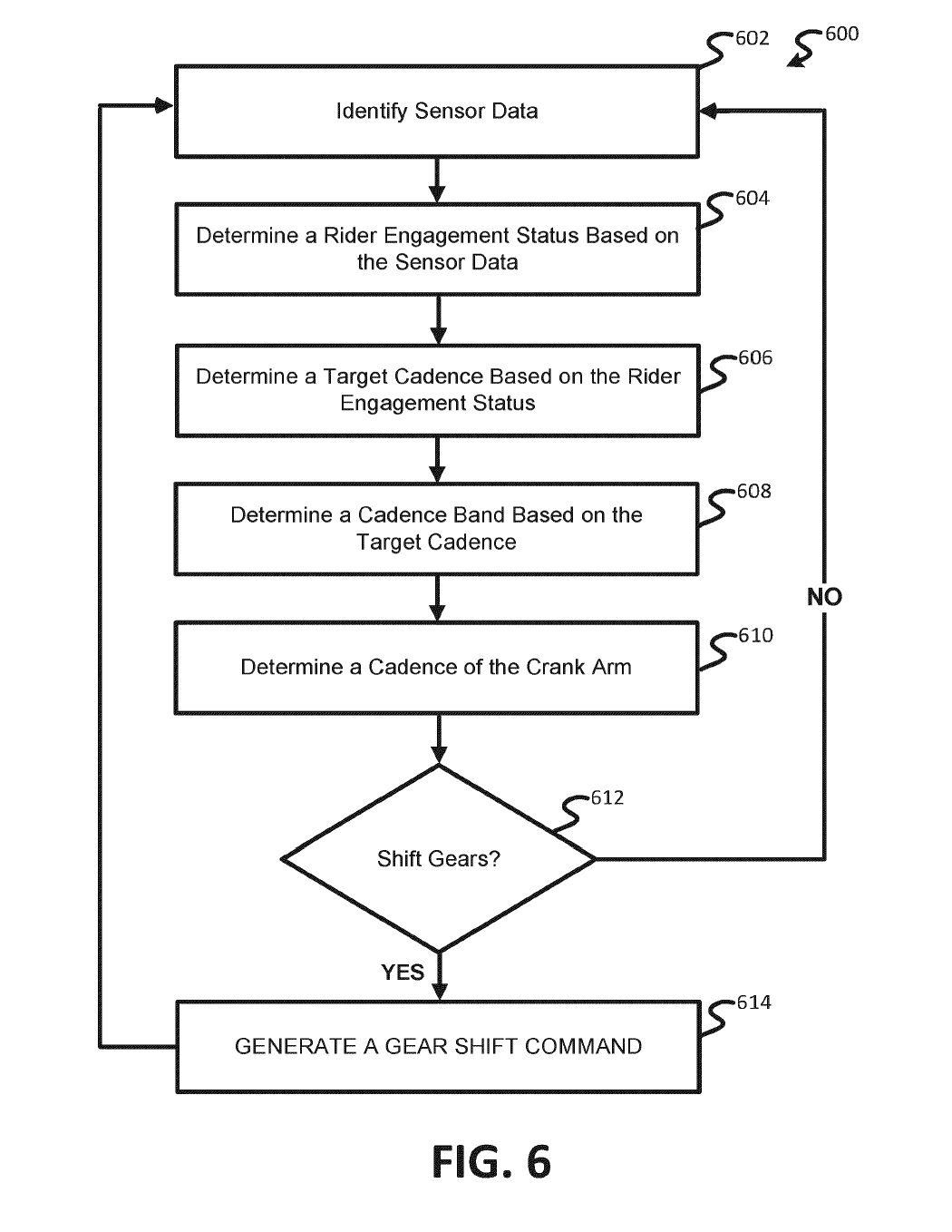
Enfin, la dernière demande de brevet aborde un sujet beaucoup plus futuriste : le changement de vitesses automatique. Futuriste… plus pour longtemps ? Comme on peut le voir sur les dessins et tel qu’expliqué dans le document, ce système serait exclusivement réservé aux e-bikes. On imagine que l’intérêt principal serait de rester en permanence dans la plage de cadence optimale pour le fonctionnement du moteur.

Si Sram n’a pas encore de moteur sur le marché aujourd’hui, on sait que la marque travaille sérieusement dessus (lire Spy Shot : bientôt un moteur e-bike chez Sram ?). Or, arriver avec un ensemble moteur + transmission fonctionnant de concert permettrait au fournisseur américain de se démarquer réellement du reste de la concurrence sans rentrer spécialement dans la course du poids et de la capacité de batterie.

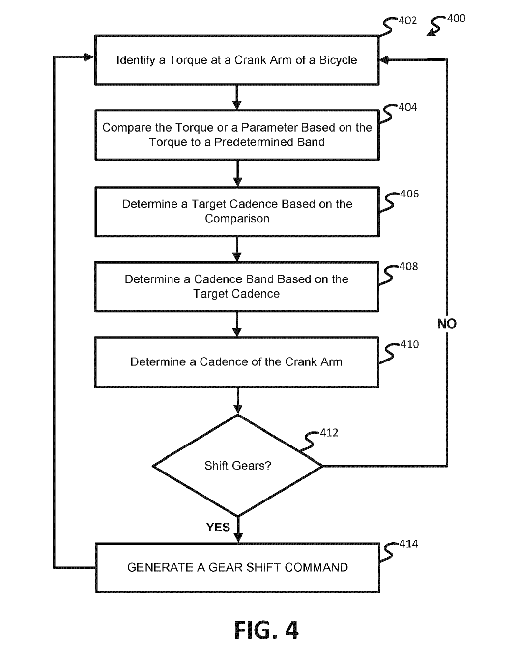
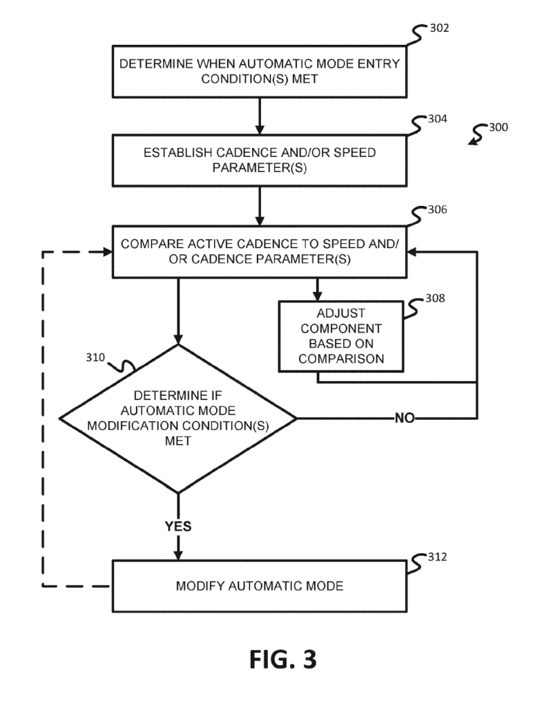
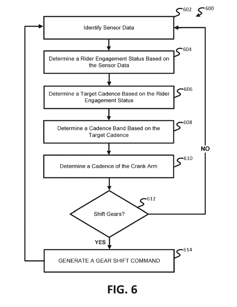
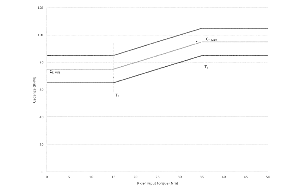
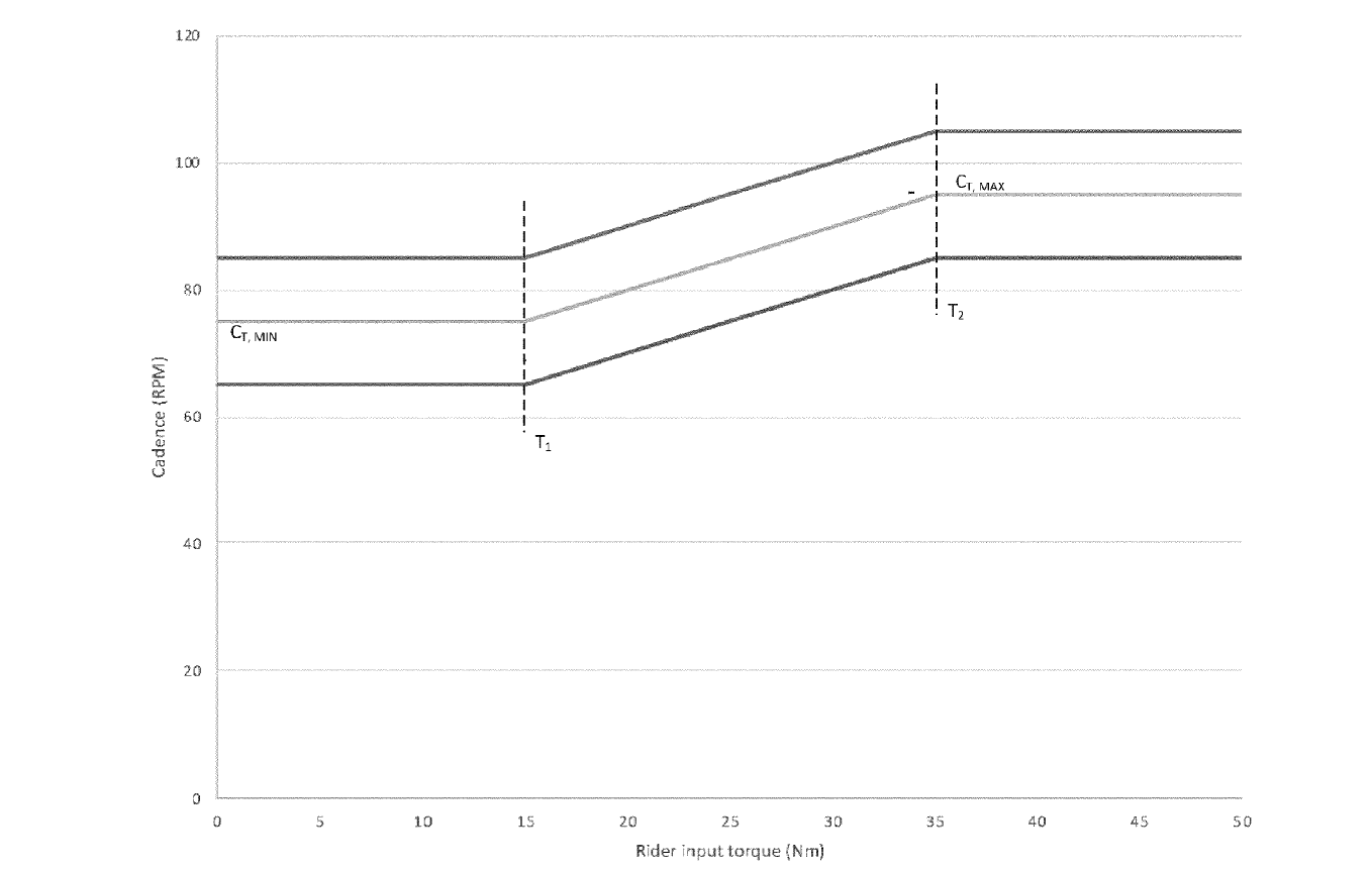
Comment ça fonctionne ? Sur le papier, le principe paraît simple : une plage de cadence est définie à l’avance et quand on en sort, le système change de rapport pour y revenir. Cependant, tout le raffinement et l’intérêt du document se situe dans le « quand changer » : « contrairement au changement de vitesse automatique de l’art antérieur, dans lequel le changement de vitesse automatique est basé uniquement sur la cadence, dans la présente invention la cadence cible et la bande d’hystérésis de cadence correspondante peuvent être modifiées en fonction d’un nombre quelconque de scénarios de conduite détectés. Cela permet d’éviter les changements de vitesse non désirés et d’offrir une meilleure expérience de conduite au cycliste. »

Ici, Sram a imaginé un système se basant sur toute une batterie de capteurs (cadence, couple/puissance, accéléromètre, gyroscope, inclinomètre, éventuellement lidar et capteur de pression sur la selle/tige de selle) pour déterminer si le changement de cadence impose un changement de rapport ou non. En effet, on a tendance à pédaler à une cadence plus élevée lorsqu’on veut aller vite mais à une cadence moins élevée lorsqu’on est en danseuse. En descente, on préfère généralement une cadence différente de celle qu’on utiliserait sur le plat, elle-même différente de celle adaptée à une montée technique.

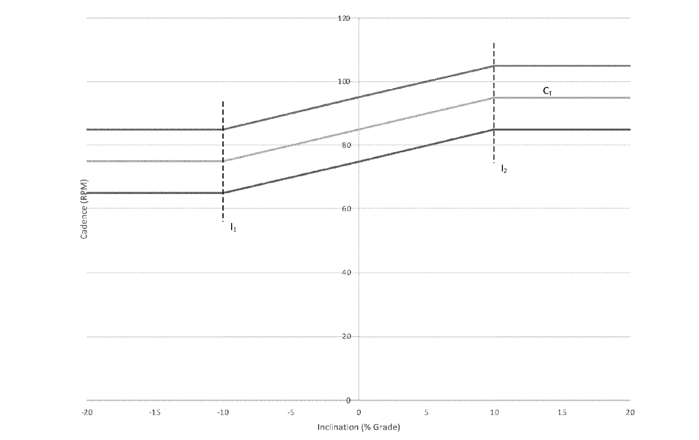
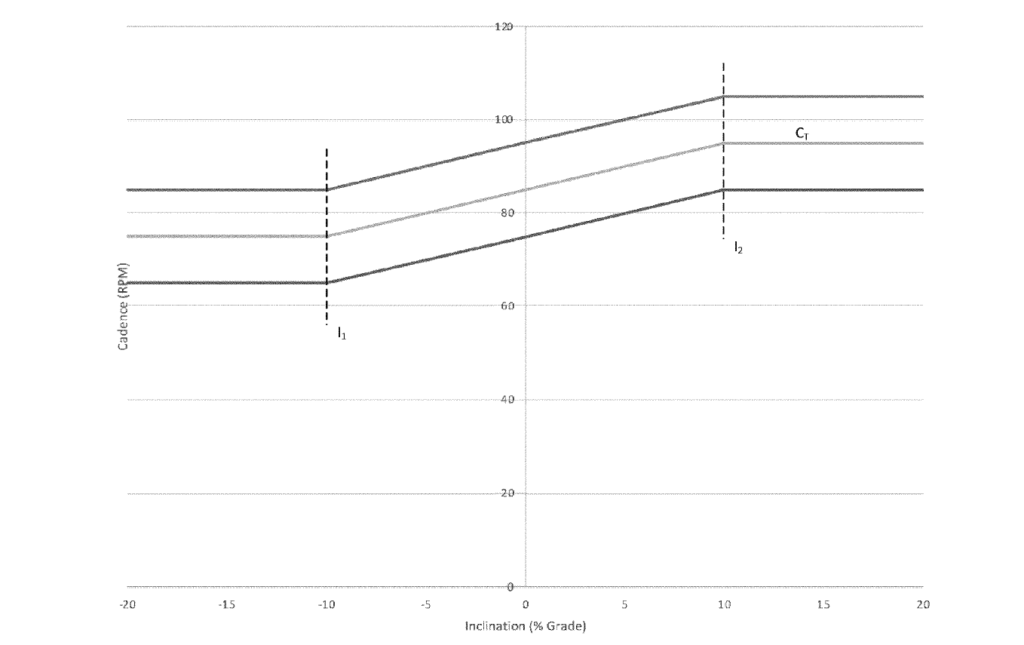
Avec tout ses capteurs, le système pourrait déterminer dans quelle situation on se trouve et adapter la plage de cadence « acceptable », celle en dehors de laquelle il faut changer de rapport. Ci-dessus, un exemple d’adaptation selon l’effort du pilote (à gauche) et un autre selon la pente (à droite).

Ce mode automatique pourrait être activé et désactivé via une commande au cintre mais aussi modifié, pour ajuster les limites de la plage de cadence par exemple. Autre possibilité, celle d’un système qui s’active avec la vitesse : « Dans un autre mode de réalisation, la vitesse de la bicyclette peut être surveillée par le dispositif de commande du système à l’aide d’un dispositif de détermination de la vitesse, tel qu’un capteur de vitesse de roue. Lorsque le dispositif de commande du système détermine que la vitesse de la bicyclette, telle qu’indiquée par la vitesse de la roue dans cet exemple, est supérieure à une valeur minimale, le dispositif de commande du système fait passer le composant en mode automatique. »

A vrai dire, ces demandes de brevet nous ont un peu surpris, en particulier celle sur le dérailleur modulaire. Comme dit plus haut, ce n’est pas si courant d’avoir autant d’explications claires et précises dans ce genre de document, au point qu’on se demande si Sram ne voulait pas qu’on tombe dessus pour faire parler du dérailleur avant sa sortie officielle. Enfin, que ce soit le cas ou non n’enlève rien aux aspects techniques et ceux-ci sont très intéressants. D’habitude on fait toujours preuve de prudence en interprétant les brevets mais ici la mise en pratique ne fait que peu (pas) de doutes : les dessins correspondent pour la plupart à ce qu’on a pu observer aux Gets. Un dérailleur au format « Lego » qui peut être personnalisé et surtout réparé facilement, c’était un rêve pour beaucoup et il semblerait que Sram soit en passe de le réaliser. Qui l’eut cru ?

Les brevets complets :

Modular Bicycle Derailleur

Modulares Betätgungssystem für Fahrräder

Bicycle Control System

Par Léo Kervran