Innovations | Quand Porsche se lance dans le frein de vélo

Par Léo Kervran -

  • Tech

Innovations | Quand Porsche se lance dans le frein de vélo

Après les disques de 220 mm et les étriers surdimensionnés, bientôt des freins de camion sur les vélos ? Ce n’est pas une blague puisque Porsche a récemment déposé une demande de brevet pour un frein à courant de Foucault adapté à nos freins à disques hydrauliques. Quel intérêt ? Et comment cela fonctionnerait ? Explications :

Avant de rentrer dans le coeur de cette demande de brevet, il faut s’arrêter un instant sur le nom du demandeur : que vient faire Porsche dans le monde du vélo ? La célèbre marque allemande n’est pas complètement étrangère au milieu et s’est déjà associée à d’autres marques pour certains concepts, elle a même un e-bike au catalogue à l’heure actuelle (à découvrir ici, si cela vous intéresse) mais cela reste relativement anecdotique.

De façon plus intéressante, elle est rentrée au capital de Fazua début 2022 (lire Industrie | Porsche investit dans Fazua) puis a racheté la totalité de la marque croate d’e-bike Greyp, dont elle possédait déjà des parts, l’année dernière. Stratégie de diversification ? Réelles ambitions techniques dans le milieu du vélo ? Le futur le dira mais en attendant, des documents comme celui-ci montrent que ses équipes ne restent pas les bras croisés.

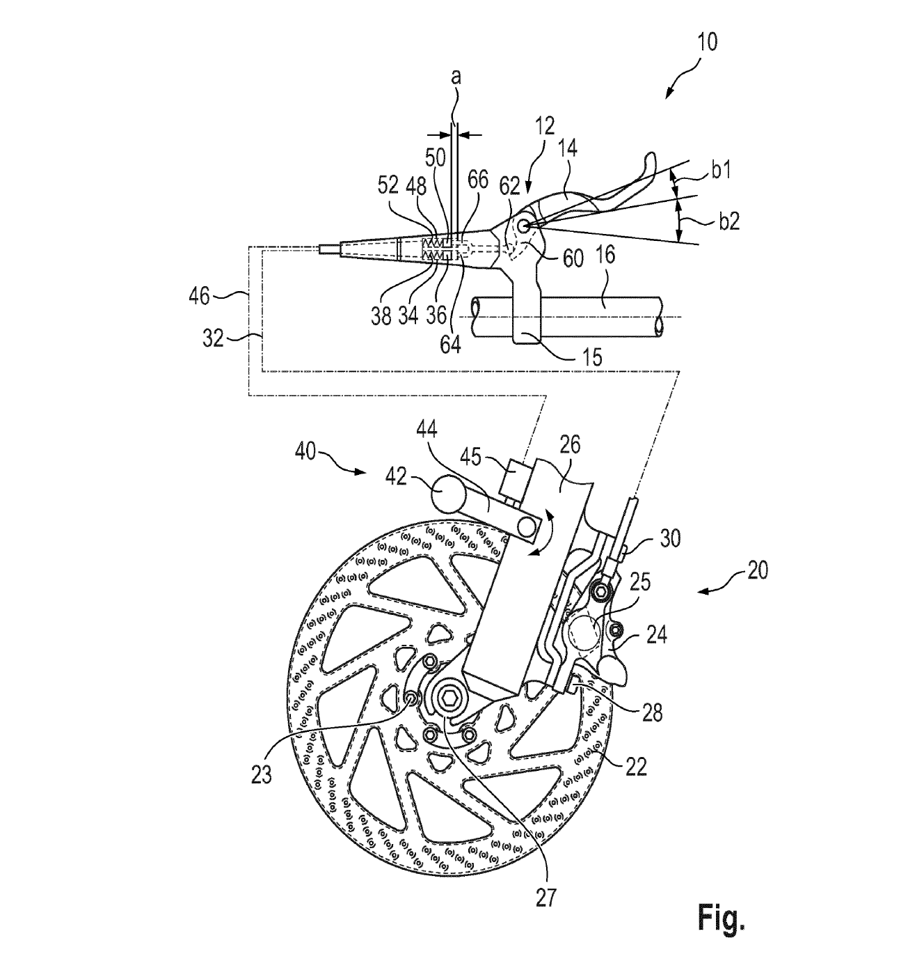
L’idée proposée ici serait donc d’installer un système de freinage à courant de Foucault en parallèle du couple disque-étrier classique. Le courant de Foucault, kézako ?

Lorsqu’une masse conductrice se déplace dans un champ magnétique (ou qu’on fait varier un champ magnétique autour d’elle), des courants électriques se créent dans cette masse : ce sont les courants de Foucault. Comme tout courant électrique, ils induisent un champ magnétique et ce champ s’oppose à la cause de variation du champ extérieur. Si cette variation vient du déplacement de la masse dans un champ magnétique, comme on l’envisageait ici, cette « lutte » entre les deux champs génère des forces qui s’opposent au déplacement : les forces de Laplace. Fin du cours magistral, place à l’application pratique.

Prenez un disque en acier, faites-le tourner sur lui-même et approchez un aimant de sa surface : le champ magnétique de l’aimant va créer des courants de Foucault dans le disque, qui vont créer leur champ magnétique en opposition à la « cause de variation du champ extérieur ». Ici, c’est la rotation du disque : en tournant, il rentre dans le champ créé par l’aimant, le traverse, puis le quitte avant de recommencer. Les forces de Laplace ainsi générées vont donc s’opposer à la rotation du disque et le freiner peu à peu. Plus le disque tourne vite plus elles freineront, en revanche s’il est arrêté le système n’est d’aucune efficacité.

Un frein qui fonctionne sans le moindre contact entre les deux surfaces, magique ? Non, électromagnétique. Et vous l’avez déjà toutes et tous expérimenté, puisque ce genre de système est obligatoire sur les poids lourds (camion et bus, on parle souvent du ralentisseur) et courant sur les trains. Avec cette demande de brevet, Porsche envisagerait donc de l’adapter au vélo.

Comment cela fonctionnerait ? Plutôt simplement, en apparence. Le document évoque un aimant permanent qui coulisserait comme un piston ou pivoterait sur un levier entre deux position, « repos » (le disque est en dehors du champ magnétique) et « freinage » (le disque est dans le champ de l’aimant). Cet aimant serait commandé par le même système hydraulique que l’étrier de frein classique et Porsche propose de dissocier la course du levier de frein en deux parties : dans la première, seul l’aimant est activé pour un freinage uniquement sur la base des courants de Foucault, et s’il faut plus de force, la deuxième moitié de la course vient solliciter également l’étrier et ses plaquettes.

L’intérêt, d’après la marque allemande, est double : limiter l’usure du système de freinage « conventionnel » (puisqu’il n’y pas de frottements entre les éléments impliqués), et contrôler sa chauffe afin d’éviter le glaçage des plaquettes. Un frein à courant de Foucault dégage également de la chaleur, c’est même la seule façon qu’il a de dissiper l’énergie de rotation du disque, mais les plaquettes seraient (relativement) épargnées puisque moins sollicitées. Selon Porsche, cela pourrait même améliorer la distance de freinage en cas de freinage d’urgence en réduisant les risques de blocage de roue.

Difficile d’imaginer les sensations qu’un tel frein pourrait procurer. Au vu du fonctionnement et notamment de la course du levier en deux parties, on l’imagine plus facilement trouver sa place sur des vélos urbains, pour un usage de mobilité et sans notion de performance, plutôt que sur des VTT, gravel ou même vélo de route. Ce d’autant plus que cela ajouterait forcément du poids à nos vélos…  Le brevet est toutefois encore loin d’être accordé, puisqu’il n’en est encore qu’au stade de demande, et rien ne dit non plus que Porsche souhaitera réellement exploiter cette idée. Néanmoins, c’est original et cela change des documents qu’on a l’habitude de voir passer en VTT ces dernières années !

Le brevet complet : Système de frein hydraulique pour bicyclette ou vélo à assistance électrique 

Par Léo Kervran