Innovations | Bientôt des capteurs d’usure pour nos plaquettes ?

Par Léo Kervran -

  • Tech

Innovations | Bientôt des capteurs d’usure pour nos plaquettes ?

Tektro n’est pas forcément la première marque à laquelle on pense lorsqu’on parle de freins VTT, mais l’entreprise taïwanaise, propriétaire de TRP, a récemment déposé un brevet plutôt intéressant : un système qui avertirait le pilote lorsque ses plaquettes sont usées et doivent être changées. Voici comment cela fonctionnerait.

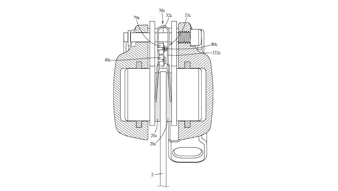
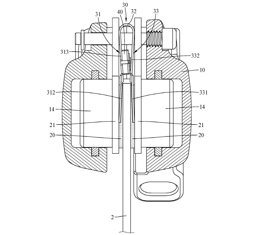
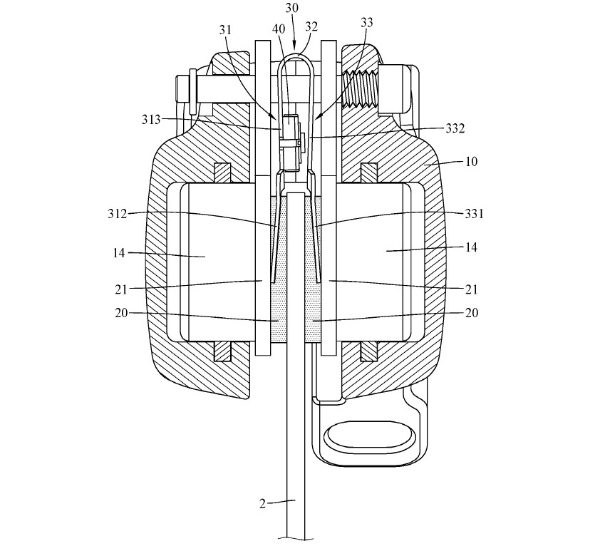
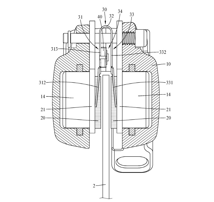
Au repos (schéma de gauche), le ressort de rappel est écarté et l’interrupteur n’est pas activé. Même chose lorsque les plaquettes sont en bon état (au centre), elles entrent en contact avec le disque trop tôt pour que le ressort de rappel vienne comprimer l’interrupteur. En revanche, lorsqu’elles sont usées (à droite), la course du ressort est suffisamment longue et il peut activer l’interrupteur, ce qui envoie alors un signal à la diode par le biais du dispositif de transmission.

Le document manque encore de précision sur certains points et ne détaille pas, par exemple, le fonctionnement précis de l’interrupteur : est-ce que la diode s’allume quand on freine puis s’éteint lorsqu’on relâche le levier ou est-ce qu’elle reste allumée ? Dans ce cas, comment remettre le système à zéro après avoir changé les plaquettes ? En revanche, la simplicité du système nous laisse penser que cela pourrait être adaptable sur tous les freins du marché, à quelques exceptions près qui pourraient poser problème (comme les Magura 4 pistons avec des plaquettes séparées et des ressorts de rappel très étroits).

Tektro préfère détailler un autre point dans son brevet et imagine un système avec deux interrupteurs, ou un interrupteur à 3 positions. En plus de l’usure des plaquettes, il permettrait aussi de détecter lorsque l’utilisateur freine : dès que les plaquettes bougent, un interrupteur est activé, peu importe leur usure. Derrière, il serait facile de connecter un feu stop au dispositif de transmission pour avertir son environnement que l’on freine. En VTT, l’intérêt est assez limité mais sur route et en ville, cela pourrait nettement améliorer la sécurité des cyclistes.

Pour la plupart d’entre nous, cette solution n’apporterait en soi pas grand-chose, à part gagner un peu de temps : il n’est guère compliqué de vérifier soi-même l’usure des plaquettes sur son vélo en enlevant les roues. En revanche, cela pourrait avoir un intérêt pour le grand public et les débutants, peu habitués à faire de la mécanique et qui constituent précisément la cible de Tektro, qui vend surtout des freins OEM pour vélos d’entrée de gamme. On pense aussi aux loueurs, qui gagneraient ainsi du temps dans l’entretien des vélos et dans la gestion de leur flotte. Rien de révolutionnaire ici, c’est plutôt de l’ordre de la petite astuce pour faciliter la vie, mais ça ne nous surprendrait pas de le voir sur certains vélos rapidement !

Le brevet complet : worldwide.espacenet.com/patent/search?q=pn%3DUS2019376572A1

Par Léo Kervran