Innovations | Du dérailleur en montage direct chez Shimano ?

Par Léo Kervran -

  • Tech

Innovations | Du dérailleur en montage direct chez Shimano ?

Après Sram, au tour de Shimano d’abandonner la patte de dérailleur ? La marque japonaise a déposé un peu plus tôt dans l’année une demande de brevet pour un montage direct du dérailleur sur le cadre très similaire à ce sur quoi Sram travaille actuellement. Qu’est-ce que cela signifie ? On a décortiqué le document pour vous :

Depuis, on est dans l’attente de plus d’informations mais on peut déjà imaginer que cette technologie serait réservée aux dérailleurs électriques de la marque, les seuls capables « d’encaisser » des chocs et ainsi de préserver le cadre grâce au moteur qui leur permet de se débrayer puis de revenir en place. On peut aussi imaginer que la transition serait assez facile à faire puisque la plupart des vélos du marchés partagent désormais la même patte de dérailleur, la fameuse UDH (pour Universal Derailleur Hanger) conçue par… Sram.

L’objectif principal d’un tel assemblage est d’offrir plus de rigidité et de précision, car on sait que les transmissions 12 V y sont très sensibles. En supprimant la patte de dérailleur, on supprime un élément qui se tord plutôt facilement. A charge alors du dérailleur d’encaisser les coups, mais si les athlètes Sram utilisent déjà le produit en coupe du monde, on ose espérer que la question a été réfléchie…

Comme (un peu trop ?) souvent ces dernières années en matière de transmission, Shimano n’avait pas vraiment d’autre choix que de réagir et c’est dans ce contexte qu’arrive cette demande de brevet. Autant le dire tout de suite, on a du mal à imaginer comment elle pourrait être acceptée dans son entièreté puisque pour l’essentiel, le caractère d’innovation (un des critères pour la validation d’un brevet) n’est plus présent.

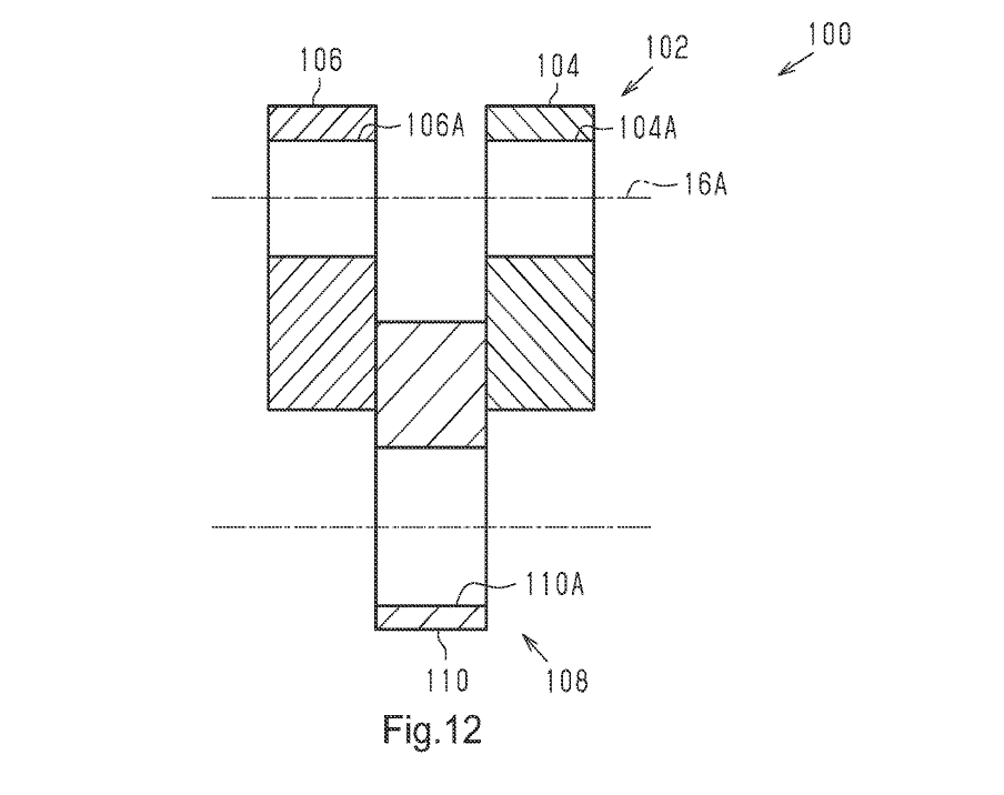
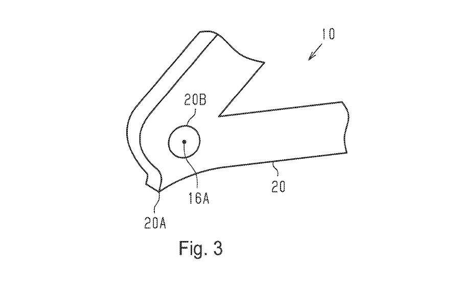
Néanmoins, on peut tout de même y trouver deux ou trois informations intéressantes. On remarque par exemple que Shimano passe un certain temps à détailler une vis qui permettrait de régler la position du dérailleur vis-à-vis du cadre, quelque chose qu’on ne se souvient pas avoir vu dans les brevets Sram. Elle nécessiterait toutefois un point d’appui spécifique sur le cadre (repère 20A ci-dessus), ce qui semble difficilement compatible avec les cadres actuels convertis au format Sram UDH.

On note également que si les dessins peuvent porter à confusion, Shimano ne fait mention que d’un dérailleur électrique dans le document, assez tard et de façon plus discrète que d’habitude. Il serait alimenté par la batterie du vélo (un e-bike donc, comme sur la plupart des brevets Shimano récents) et communiquerait avec la commande via un fil comme le Di2 que l’on connaît… ou sans fil, comme le Di2 nouvelle génération du dernier groupe de route haut de gamme Dura-Ace.

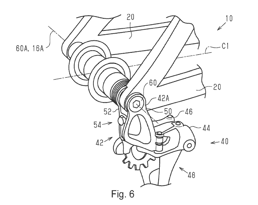
Shimano présente aussi une petite patte de liaison qui pourrait permettre de décaler le dérailleur… ou faire le lien entre le cadre et un dérailleur classique, et ainsi servir de fusible. De quoi sauver les dérailleurs à câble ?

Enfin, la marque japonaise développe dans les derniers paragraphes le fonctionnement d’un outil de réglage de la vis d’englobée du dérailleur. A nouveau, difficile de ne pas penser à Sram qui dispose d’un petit gabarit de ce genre depuis quelques années déjà, mais si Shimano prévoit de se mettre au niveau, on ne va pas s’en plaindre. Petite différence toutefois, ici il semblerait qu’il prenne la chape comme support plutôt que le galet guide (le galet supérieur).

Au-delà du simple aspect technique ou de la validité de la demande, c’est surtout sur l’avenir de la transmission que cette demande de brevet amène à réfléchir. Si Shimano s’engage réellement dans la voie du dérailleur arrière en montage direct, cela pourrait avoir des conséquences importantes sur le développement des transmissions électriques puisqu’à l’heure actuelle, on ne sait pas faire de dérailleur à câble capable d’encaisser de gros chocs. Ces évolutions sur les transmissions à dérailleur repoussent aussi l’éventualité d’une démocratisation des boîtes de vitesse… à moins qu’il ne s’agisse d’une diversion, car Shimano a aussi déposé des demandes de brevets en ce sens (lire Innovations | Shimano : une boîte de vitesses en préparation ?).

Ce document est en effet l’une des demandes de brevets les plus indigestes que nous ayons eu à lire ces dernières années et on a presque l’impression que ses auteurs cherchent à « noyer le poisson » dans le jargon technique pour éviter d’aborder le sujet principal. Si on suit la chronologie Shimano, on pourrait d’ailleurs avoir droit à une nouvelle version des groupes SLX, Deore XT et XTR l’année prochaine (gamme 7000/8000/9000 en 2015-2016 puis gamme 7100/8100/9100 en 2018-2019). Réponse dans quelques mois ?

Le brevet complet : Rear Derailleur

Par Léo Kervran