Innovations | Fox : L’auto-sag pour tous ?

Par Léo Kervran -

  • Tech

Innovations | Fox : L’auto-sag pour tous ?

Ah, le réglage des suspensions… C’est un point clé de nos vélos, aussi bien pour le confort que la performance, mais l’on voit encore trop souvent des vélos avec un sag ou un rebond mal réglé. Specialized avait frappé fort avec l’auto-sag il y a quelques années mais la marque américaine a progressivement abandonné ce système, sans avancer de raison officielle. Aujourd’hui, c’est Fox qui revient sur le sujet avec une demande de brevet publiée récemment, dans laquelle la marque détaille plusieurs méthodes pour faciliter le réglage des suspensions. Au coeur du système, une pompe haute pression un peu plus avancée que celles que nous utilisons actuellement.

Proposition 1

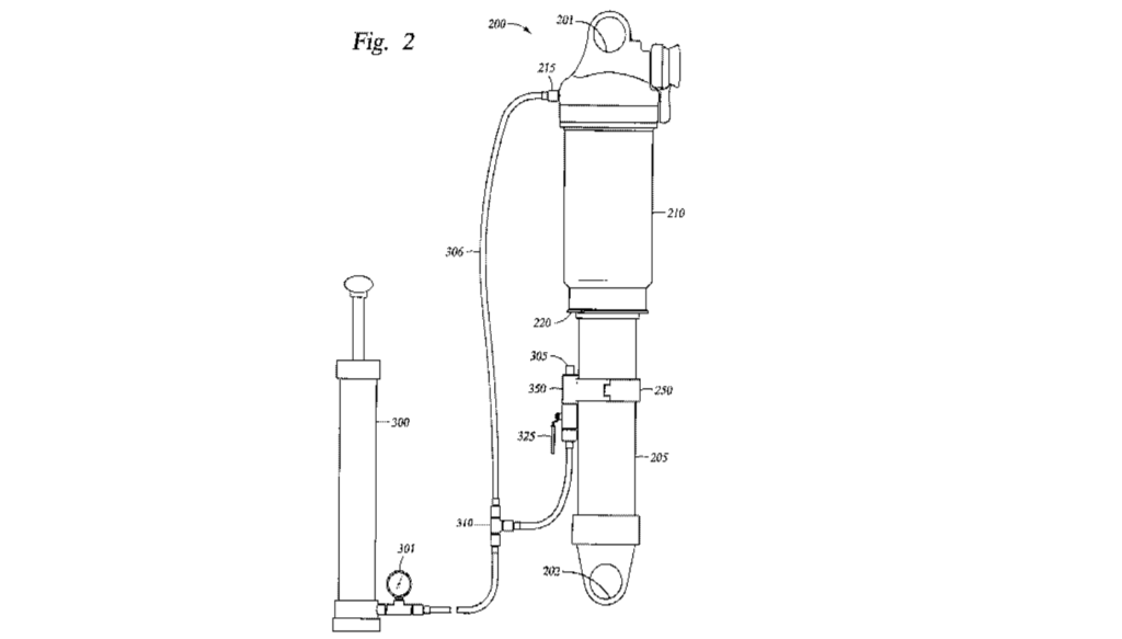
Comme le montre le schéma plus haut, tout tourne autour d’une pompe à haute pression redessinée. Attention à ne pas l’interpréter comme décrivant exactement un futur produit, il s’agit d’un schéma pour illustrer le concept et non d’un dessin technique préfigurant une production. Le principe fonctionne aussi bien sur une fourche et si Fox devait sortir un jour cette pompe, des éléments pourraient être déplacés.

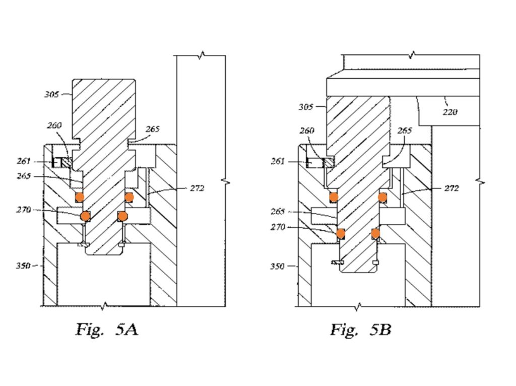
Vis-à-vis d’une pompe classique, on remarque la présence d’un tuyau supplémentaire, connecté à un collier (250) et deux valves (325 et 350). Cette section est reliée au reste de la pompe par une jonction en T, référencée par le numéro 310. Autre élément important mais peu visible sur le schéma, le corps de l’amortisseur dispose d’un épaulement (220) qui fonctionne, on va le voir, comme une butée.

Le principe est simple : on serre le collier sur le plongeur de l’amortisseur ou de la fourche à l’emplacement correspondant au pourcentage de sag désiré puis on gonfle l’amortisseur, à une pression nettement supérieur à la « bonne » pression (tout en restant sous la limite de ce que peut accepter l’amortisseur). A ce moment, le système de « sortie » est fermé au niveau de la valve 325 et l’air rentre dans l’amortisseur ou la fourche comme avec n’importe quelle pompe HP classique, via le tube 306 et la valve 215 en suivant les flèches rouges.

Une fois ce gonflage effectué, le ou la pilote monte sur le vélo et ouvre la valve 325. La valve 215 étant toujours connectée à la pompe et la valve 350 ouverte par défaut, l’air peut sortir librement en suivant les flèches vertes. L’amortisseur ou la fourche commence donc à se compresser, jusqu’à ce que le collier arrive en butée sur le corps ou le fourreau. Il faut alors fermer le système pour ne pas le dégonfler plus que nécessaire et c’est là que la valve 350 intervient.

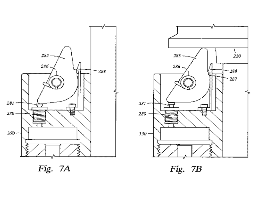
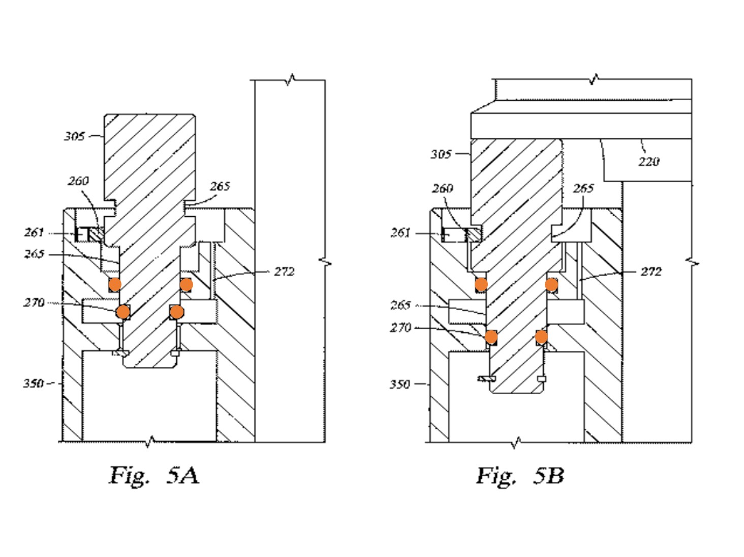
Fox envisage plusieurs solutions pour sa conception (voir les schémas ci-dessus) mais le principe de base reste le même : elle comporte un élément, référencé par le n°305, qui vient fermer le système lorsqu’il rencontre l’épaulement 220 que nous évoquions plus haut. La valve, ouverte (position A) tant qu’on n’est pas au sag, se ferme donc (position B) et divers joints (en orange, remplacés par la valve 280 sur les figures 7A et 7B) assurent l’étanchéité du système pour empêcher l’air de sortir.

Enfin, la petite cale 260, pré-contrainte par le ressort 261, vient s’insérer dans un renfoncement de l’élément 305 pour empêcher la valve de se ré-ouvrir par inadvertance. Il ne reste plus qu’à fermer à la main la valve 305, ouvrir le collier et dévisser la pompe de l’amortisseur ou de la fourche. Le sag est fait, de manière fiable et précise.

Proposition 2

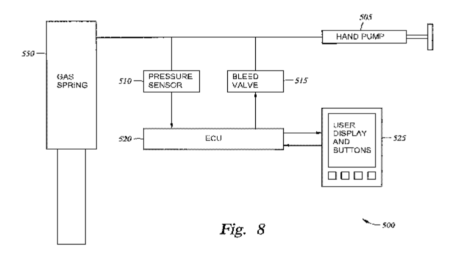
La deuxième solution, plus complexe, est relativement détaillée sur le papier mais beaucoup moins illustrée puisqu’elle ne renvoie qu’à un seul schéma. Elle est de ce fait un peu moins claire et évidente à comprendre, d’autant que Fox évoque plusieurs options ou niveaux de technologie différents, mais l’idée générale serait d’avoir une pompe éventuellement reliée à une application pour smartphone et capable de calculer elle-même la pression idéale en fonction du poids du pilote et du sag souhaité.

Son fonctionnement se base sur une loi physique très simple, la loi de Boyle-Mariotte, qui veut qu’à température constante, la relation pression x volume d’un gaz parfait reste constante. En d’autres termes, si on diminue le volume d’une chambre étanche, sa pression augmente et inversement : P1 x V1 = P2 x V2.

Une pompe intelligente qui pourrait régler automatiquement le sag et indiquer les bonnes valeurs de rebond/compression ?

Dans la version la plus avancée du système, la pompe dispose d’un réservoir d’air sous pression et communique avec le smartphone pour récupérer les informations de l’amortisseur et du modèle de vélo. En effet, l’amortisseur comprendrait une puce RFID ou un code à scanner qui intégrerait tous les détails nécessaires au calcul de la pression (volume de la chambre d’air, sag recommandé par le fabricant…), voire des réglages de rebond et de compression.

Le réglage de la suspension, que ce soit la fourche ou l’amortisseur, se passerait alors comme suit :

  1. Le pilote ouvre le rebond et la compression, gonfle sa suspension à une pression quelconque et rentre cette information dans la pompe ou l’application.
  2. Il ou elle monte sur le vélo, ce qui compresse la suspension. Via le smartphone ou des capteurs intégrés, la pompe mesure l’enfoncement et/ou la pression dans la suspension.
  3. Le pilote descend du vélo puis, avec toutes les données récupérées (pression et volume initiaux, pression et/ou volume enfoncés, sag recommandé), la pompe calcule elle-même la pression ou l’application fait le calcul et détermine s’il faut rajouter de l’air ou en enlever.
  4. Grâce à ses capteurs et son réservoir d’air, la pompe rajoute ou enlève la quantité d’air pour atteindre la pression calculée. Dans des versions moins avancées, c’est au pilote de faire cette opération en suivant les indications de la pompe. On peut ensuite déconnecter la pompe.
  5. Grâce aux informations récupérées sur la suspension, le modèle du vélo, le poids du pilote et éventuellement son style de pilotage, la pompe ou l’application peut en plus conseiller des réglages de rebond et de compression, qui pourront être affinés par la suite si nécessaire.
  6. Tous les réglages sont faits, direction les sentiers !

Les solutions présentées dans cette demande de brevet ne sont pas révolutionnaires mais on salue tout de même la réflexion de Fox, qui cherche à faciliter la vie des pratiquants sans verser exclusivement dans des systèmes propriétaires et/ou réservés à ses amortisseurs. Il faut dire que RockShox avait pris une belle avance dans ce domaine avec des idées toutes simples mais bien protégées, comme les indications gravées sur le plongeur ou les dessins de lièvre et de tortue sur le réglage du rebond (bien plus explicites que des signes « + » et « -« ).

Le premier système présenté dans cet article a l’avantage d’être très simple donc probablement peu coûteux à mettre en œuvre et pas trop cher pour l’utilisateur mais au final, un réglet fait aussi bien l’affaire et demande juste un peu plus de temps. A cet égard, le deuxième est bien plus intéressant et a, selon nous, plus de chances de voir le jour, mais il faut s’attendre à ce qu’il soit moins accessible, vu le niveau de technologie (création d’une application, capteurs miniaturisés dans l’amortisseur ou la pompe…). En attendant de voir si Fox poursuit dans cette voie, on apprécie que les marques se penchent sur la façon dont les pratiquants règlent leur vélo plutôt que de considérer que leur travail est terminé une fois le produit vendu. De plus en plus de guides se développent autour de cet objectif (on pense notamment à celui de Norco, à la fois simple à utiliser et complet) et c’est une très bonne chose !

Le brevet complet : Methods and Apparatus for Suspension Adjustment

Par Léo Kervran