Innovations | Recharger ses batteries Sram AXS… en pédalant ?

Par Léo Kervran -

  • Tech

Innovations | Recharger ses batteries Sram AXS… en pédalant ?

Même dans nos idées les plus folles, même dans nos projets les plus farfelus, même dans nos listes les plus absurdes pour le 1er avril on n’y avait pas pensé. Sram a récemment déposé deux demandes de brevets exceptionnelles pour résoudre le problème des petites batteries rechargeables qui équipent ses produits AXS (même si elles durent plutôt longtemps ça reste une chose à laquelle il faut penser) et si l’une paraît plus sérieuse que l’autre, on se devait de vous partager les deux : voici le garde-boue solaire pour recharger les batteries AXS et le dérailleur-générateur !

Le dérailleur-générateur

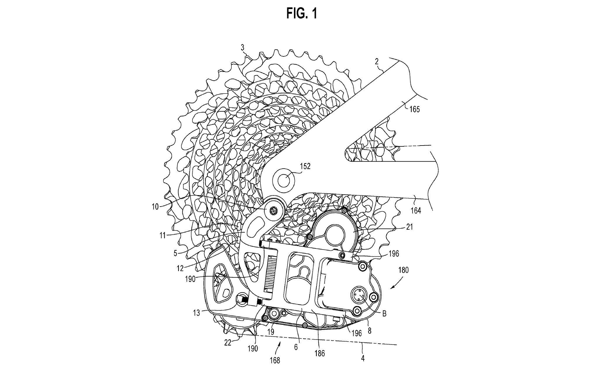
Allez, un peu de sérieux tout d’abord, on commence avec le dérailleur-générateur. L’idée est simple : un dérailleur électrique, ça a besoin d’énergie pour alimenter le moteur. Si on veut se passer de batterie, qu’est-ce qui peut fournir de l’énergie sur place ? Les galets de dérailleur, exactement !

Puisqu’ils tournent en permanence lorsqu’on pédale, entraînés par la chaîne, ils pourraient tout aussi bien entraîner un petit générateur histoire de tirer parti de cette énergie autrement perdue. Sram a donc imaginé un système de générateur et de moteur fixé sur la chape de dérailleur plutôt qu’à proximité du parallélogramme et relié au galet supérieur, ou galet guide.

Note suite à une remarque d’un lecteur : bien sûr, un dérailleur classique ne produit pas de l’énergie au sens premier de ce verbe. L’énergie vient du pédalage, autrement dit de la personne sur le vélo. Le raccourci était volontaire pour retrouver la réflexion qui a pu amener à cette idée et on espère que vous l’aviez compris.

Comme les schémas l’illustrent, le galet est relié à une roue dentée qui fait tourner, par un jeu d’engrenages et de courroies, le rotor du générateur. En effet, un galet tourne bien trop lentement pour que le générateur puisse produire un courant suffisant. Il faut donc jouer avec les rapports de réduction pour augmenter à chaque étape la vitesse de rotation afin d’obtenir une valeur suffisante pour le rotor. C’est l’inverse d’un e-bike, où on cherche à ralentir la vitesse de sortie du moteur pour pouvoir la transmettre au pédalier. Sram évoque un rapport compris entre 20:1 et 50:1 et propose dans cet exemple 33,75:1 (3:1 puis 3:1 puis 3,75:1). Autrement dit, lorsque le galet fait un tour complet sur lui-même le rotor en ferait presque 34.

Pourquoi des engrenages (repères 37, 338, 339) et des courroies (repère 43, entre les poulies 41 et 42) ? Question de « confort » d’après les inventeurs. A haute vitesse, les engrenages génèrent un bruit aigu qui peut être assez désagréable. Pensez aux assistances d’e-bike… Sur ce système, on a donc des engrenages lorsqu’on est proche du galet car les vitesses de rotation sont alors relativement faibles et une courroie (plus discrète mais qui nécessite un système de tension) à l’autre extrémité, juste avant le rotor qui tourne lui beaucoup plus vite.

Le générateur envoie ensuite l’électricité ainsi produite à un module de stockage (petite batterie ou supercondensateur) qui alimente le moteur lorsque nécessaire. Tout ce petit monde est installé sur la chape dans le même boîtier que le générateur, ce qui doit assurer une certaine fiabilité : il n’y a aucun fil qui se promène à l’air libre.

Notez par ailleurs que le document mentionne également un mécanisme d’embrayage afin de ne faire fonctionner le système que dans le sens du pédalage. Si on tourne les manivelles dans le sens inverse, le galet se désengage du reste du mécanisme et n’entraîne plus le rotor, il tourne librement comme sur n’importe quel dérailleur.

Étonnamment aboutie, la demande de brevet ne s’arrête pas à la partie mécanique et détaille aussi le fonctionnement électrique du système : mise en route, sécurité en cas de surcharge ou de surchauffe…

Et en parlant de sécurité, Sram évoque rapidement un point important si ce système devait un jour arriver sur le marcher : le remplacement. Ici, les détails ne sont pas précisés mais la marque indique que grâce à cette configuration la cage et tout ce qu’elle contient seraient facilement remplaçables en cas de problème, sans avoir à changer tout le dérailleur.

Charger le dérailleur… mais pas que ? « Il faut comprendre que le dispositif de stockage peut alimenter d’autres dispositifs et accessoires électriques, y compris ceux situés à distance du dérailleur, par exemple et sans limitation un capteur de vitesse de roue, un capteur de vitesse de cassette, un compteur d’énergie, des lumières, le dérailleur avant, une tige de selle réglable, et/ou d’autres types d’accessoires de vélo, ou peut alimenter le moteur et de tels dispositifs auxiliaires » peut-on lire dans les dernières lignes de la description. Cela nécessiterait toutefois d’utiliser des câbles, à rebours de tout l’investissement de Sram pour les technologies sans fil.

Charger son dérailleur en utilisant de l’énergie qu’il produit lui-même, l’idée est excitante sur le papier mais lorsqu’on réfléchit un peu plus sérieusement à sa mise en œuvre, des questions apparaissent vite. Quid de l’encombrement du système ? Quel serait son impact sur le rendement ? Faire tourner des engrenages et un moteur, même petit, cela demande plus d’effort que s’il n’y avait rien du tout. A cet égard, on a du mal à envisager une application en dehors d’un usage urbain voire VAE… si application il devait y avoir.

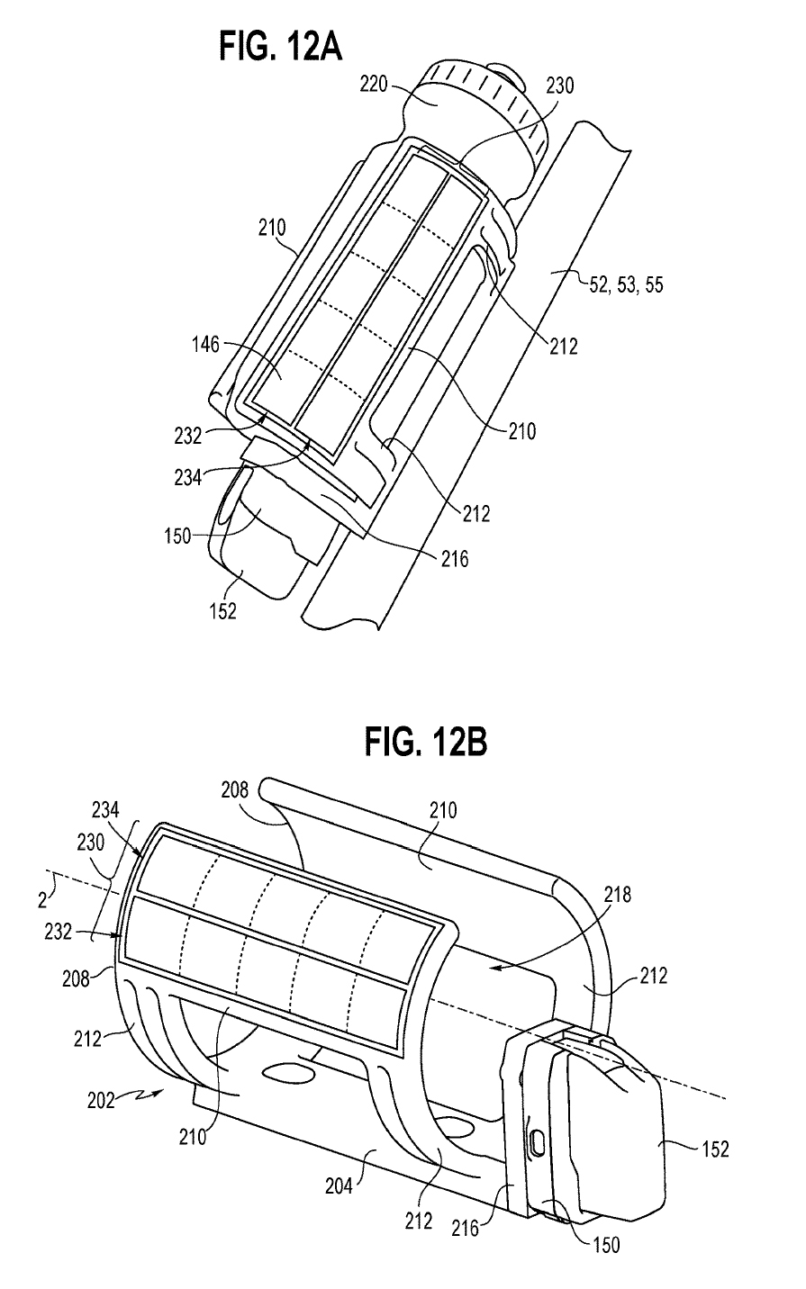
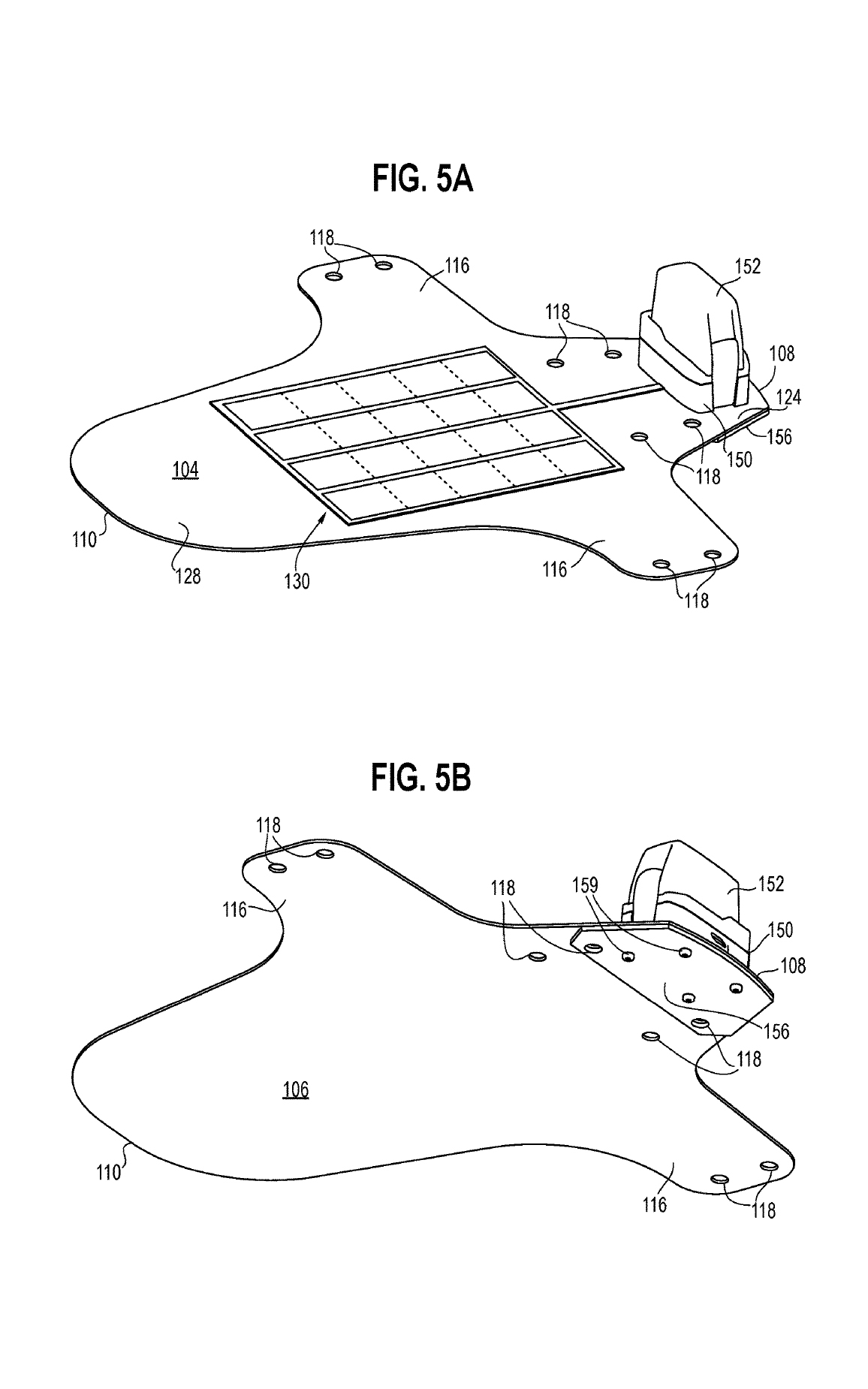
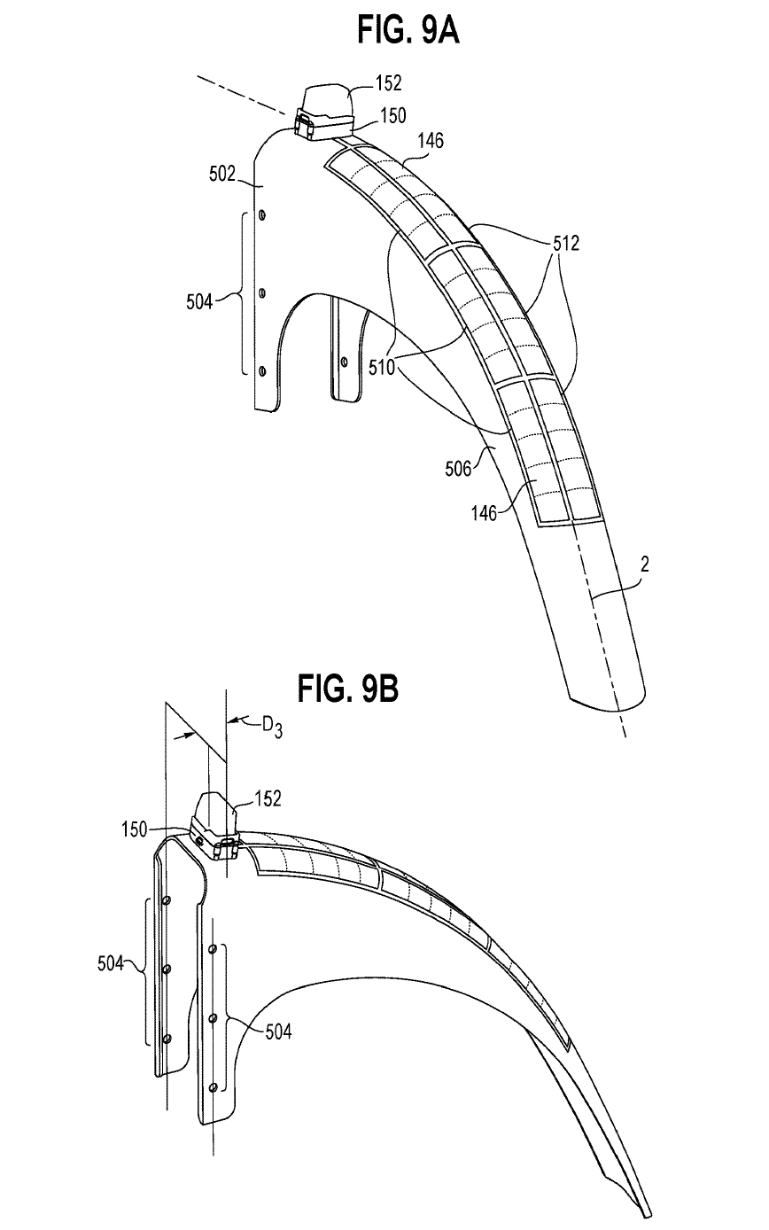
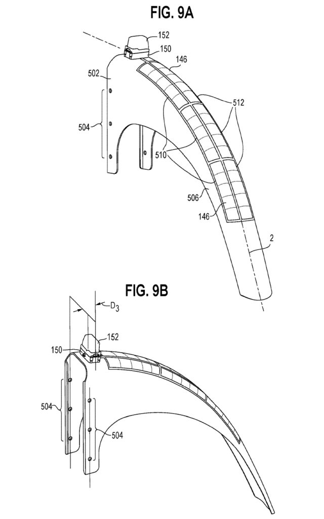
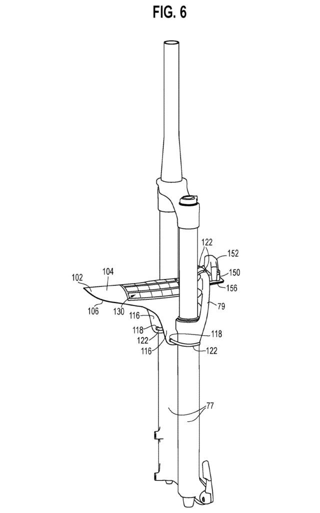
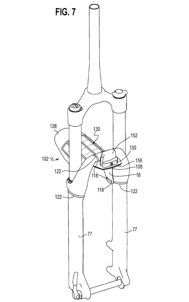
Le garde-boue panneau solaire

Pour cette demande de brevet, il y a beaucoup moins de choses à expliquer. En fait, le titre se suffit presque à lui-même : Sram a imaginé un garde-boue recouvert de cellules photovoltaïques pour recharger une batterie AXS.

La marque explique que « les vélos modernes sont de plus en plus équipés de composants électroniques, tels que les manettes, les dérailleurs, les capteurs de puissance et les tiges de selle télescopiques. Si les batteries qui alimentent ces composants ne sont pas remplacées ou rechargées, elles s’épuisent et les composants cessent de fonctionner. Il peut être gênant pour certains cyclistes de devoir surveiller l’état des piles et de les recharger périodiquement. Pour cette raison, les cyclistes peuvent choisir d’emporter une batterie de rechange lorsqu’ils roulent. Cependant, même ces batteries de rechange se déchargent naturellement, car elles alimentent un système de gestion de la batterie. Il existe également des réactions chimiques internes qui contribuent à l’autodécharge. Cela signifie qu’une batterie de rechange peut ne pas rester complètement chargée, même si elle n’est jamais utilisée. »

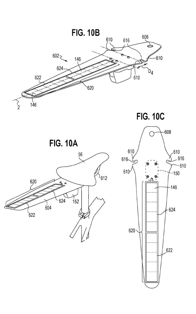
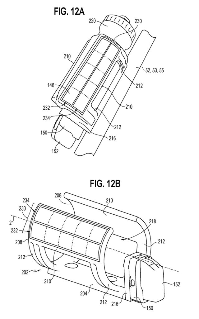
Version pour fourche inversée, garde-boue arrière, panneau flexible pour être posé n’importe où sur le cadre et même porte-bidon, toutes sortes de déclinaisons sont envisagées dans le plus grand sérieux.

En cas de projections de boue ou d’ombre, Sram a encore la solution : « Dans certaines conditions d’éclairage, certaines parties ou certains emplacements de la matrice de cellules solaires peuvent connaître des niveaux d’irradiation différents des autres. Étant donné que les branches des cellules solaires sont câblées en parallèle, et bien qu’une ou plusieurs des branches puissent être ombragées, la puissance de sortie des branches non ombragées reste la même. En même temps, si toutes les cellules sont câblées en parallèle, la tension de circuit ouvert devient égale à celle d’une seule cellule, qui peut être couverte. Par conséquent, le réseau de cellules solaires comprend une combinaison de connexions en série et en parallèle. »

Malheureusement (ou pas), l’Office des brevets et des marques des États-Unis a rejeté la demande de brevet pour le garde-boue panneau solaire. Malgré tous les arguments avancés par Sram pour s’en démarquer il existe en effet déjà un brevet sur le sujet, attribué en Corée du Sud en 2007 (référence KR100866988B1). En revanche, les revendications associées au projet de dérailleur-générateur doivent faire l’objet de quelques révisions mais la demande n’a pas été rejetée. Verra-t-on un jour ce genre de technologie sur un vélo ? Sram est déjà bien occupé pour le futur proche (lire Spyshot | Un nouveau Sram Eagle AXS en approche ?!) mais d’ici quelques années, qui sait…

Les brevets complets :

Bicycle Derailleur

Energy Harvesting for a Bicycle

Par Léo Kervran