Innovations | Shimano : bientôt une tige de selle électrique et un groupe sans fil ?
Par Léo Kervran -
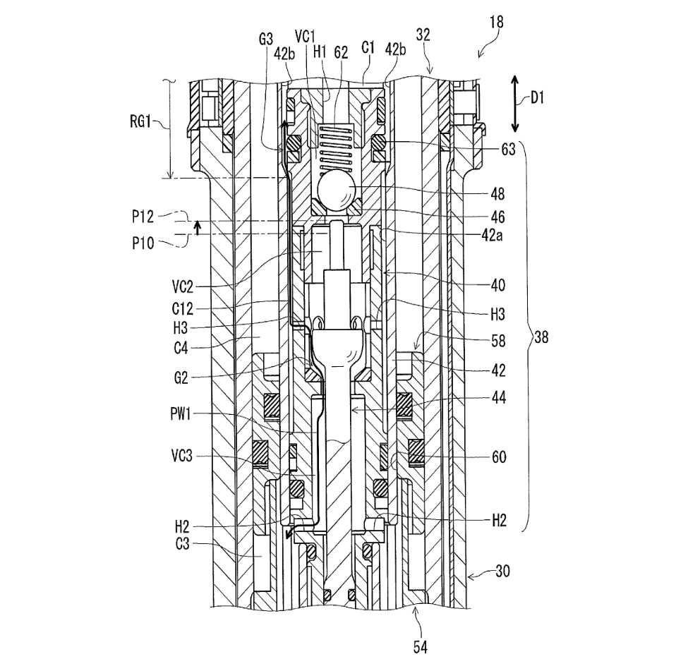
Dans un brevet rendu public la semaine dernière, Shimano dévoile ce qui pourrait bien être sa future tige de selle télescopique. Le document parle d’un produit électrique, sans fil, entièrement programmable et compatible avec… une transmission sans fil ! Présentation et analyse.
Le moteur ne servirait qu’à ouvrir et fermer le système qui fonctionnerait avec un ressort à air, un piston et un circuit d’huile.
Le fonctionnement de la tige de selle serait entièrement personnalisable, à l’image des transmissions Di2. Dans le brevet, Shimano décrit ainsi une organisation où l’utilisation d’un bouton permet de disposer de toute la plage de réglage tandis qu’un autre bouton permettrait de bloquer la tige de selle dans une position prédéfinie à l’avance. Tout est possible, jouer sur le nombre de boutons, le type de pression, la plage d’ajustement…
Par ailleurs, cette tige de selle pourrait aussi fonctionner de manière totalement autonome ! C’est en tout cas ce que suggère un autre brevet sorti quelques semaines plus tôt. Le système utiliserait les données de 4 capteurs que sont l’inclinaison latérale, l’inclinaison longitudinale, la fréquence de pédalage et la vitesse pour adapter la hauteur de selle au terrain. Il serait néanmoins toujours possible pour l’utilisateur de contrôler ce fonctionnement s’il le souhaite. Dans ce cas, le fonctionnement de la tige de selle devrait être revu pour lui permettre de descendre sans pression du pilote sur la selle.
Enfin, ce brevet aborde un autre sujet pour le moins intéressant… Dans sa description de la manette, Shimano évoque la possibilité de commander le dérailleur arrière et la tige de selle via un seul et même élément ! On peut ainsi imaginer un shifter type Di2 avec un levier pour la tige de selle et un autre, actionnable dans les deux sens (pouce/index), pour le dérailleur. Et d’autres brevets laissent entrevoir la possible apparition d’un groupe électronique sans fil aussi du côté du géant japonais.
Ces dépôts de brevets nous laissent entrevoir des trouvailles très intéressantes pour la simplification et l’ergonomie du poste de pilotage, mais surtout, cela suppose que Shimano envisage de développer une transmission électrique sans fil. Bien sûr, ce ne sont que des suppositions car nombre de brevets n’ont jamais eu d’applications réelles. Cependant, à l’heure ou l’AXS de Sram se popularise de plus en plus, il est difficile de ne pas voir Shimano se projeter sur ce marché et, si la marque japonaise souhaite concurrencer sérieusement son rival américain, il faudra qu’elle apporte quelque chose en plus pour se différencier…
Retrouvez notre visite dans l’univers Shimano, entre Japon, Malaisie et Singapour ici : Plongée dans l’univers Shimano
Notre prise en main des derniers groupes XT et SLX : Shimano Deore XT 8100 et SLX 7100 : Shimano démocratise le 12 vitesses
