Innovations | Shimano : une boîte de vitesses en préparation ?

Par Léo Kervran -

  • Tech

Innovations | Shimano : une boîte de vitesses en préparation ?

Dans un brevet rendu public en début d’année, Shimano dévoile un projet de boîte de vitesses qui semble particulièrement avancé. Déjà intéressant par le seul poids de la marque japonaise sur le marché de la transmission, le système se démarque de la concurrence avec un fonctionnement novateur.

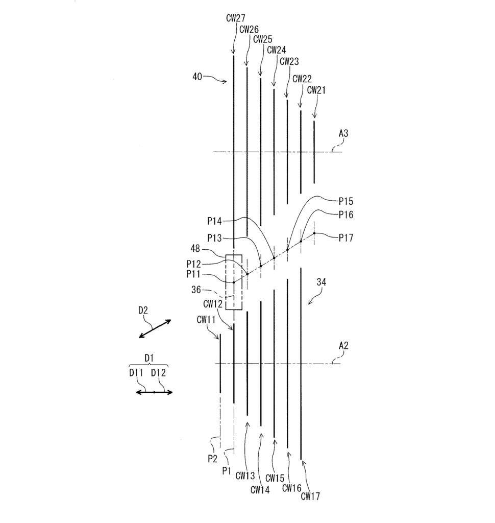
Le système exposé dispose de 13 rapports, grâce à deux cassettes différentes de 7 vitesses placées en quinconce. Comment est-ce possible ? En « position de départ », les deux cassettes se font face, on a donc 7 paires de pignons ou 7 rapports (schéma de gauche). Pour obtenir 13 rapports, Shimano a imaginé un système avec la cassette du bas (celle connectée au pédalier) qui peut se décaler d’un cran sur la gauche. Pour chaque pignon de la cassette du haut sauf le plus petit, on peut donc aligner deux pignons différents de la cassette du bas, d’où les 13 paires.

Entre les deux cassettes, un « mécanisme de guidage de chaîne [qui] peut avoir une structure similaire à celle d’un dérailleur arrière de bicyclette » s’occuperait de faire passer la chaîne d’une paire de pignons à la suivante. Il n’est pas décrit plus précisément dans le document. C’est donc très différent des boîtes de vitesses classiques type Pinion ou Effigear, qui utilisent un système d’engrenages en prise direct.

Avec ces 13 rapports, Shimano se placerait juste au-dessus de Pinion, avec 12 vitesses (la marque allemande dispose aussi d’une boîte à 18 rapports, plus orientée voyage) tandis qu’Effigear suit un peu plus loin avec 9 vitesses. Côte plage de développement, Pinion reprendrait la main avec un ratio de 600 % contre 470 % pour Shimano et 444 % pour Effigear. Cependant, rien n’empêche la marque japonaise de changer l’étagement de ses cassettes si cette boîte de vitesses sort un jour…

Le brevet évoque aussi le mode de commande de la boîte de vitesses, qui pourrait aussi bien être mécanique qu’électrique et avec ou sans fil. Parmi les autres informations utiles, on relèvera que Shimano évoque aussi un « deuxième mode de réalisation » avec un système différent placé à proximité de la roue arrière. Peu intéressante en VTT au regard de la répartition des masses, cette organisation pourrait trouver sa cible du côté des vélos de ville si elle s’avère plus simple à mettre en place.

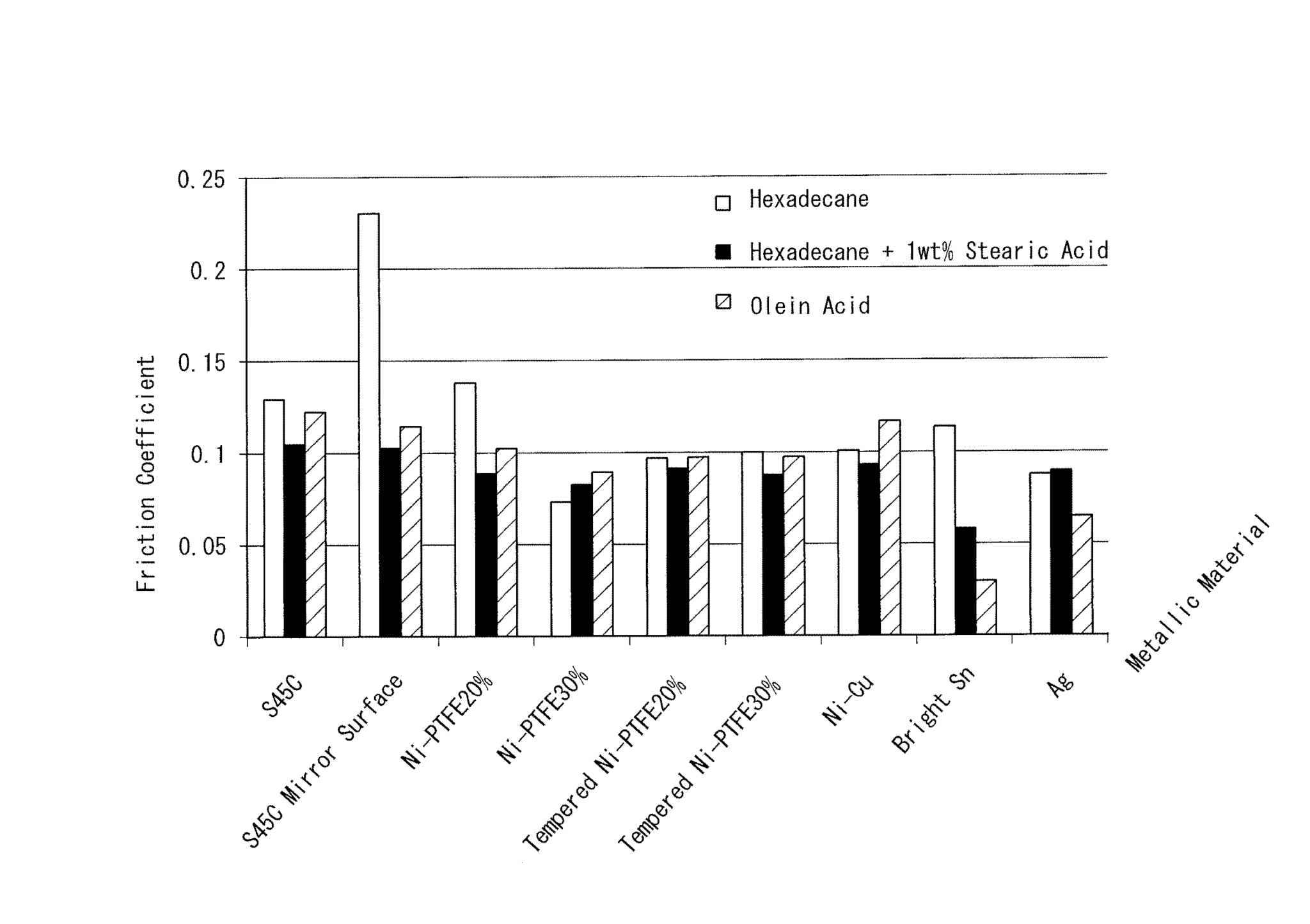
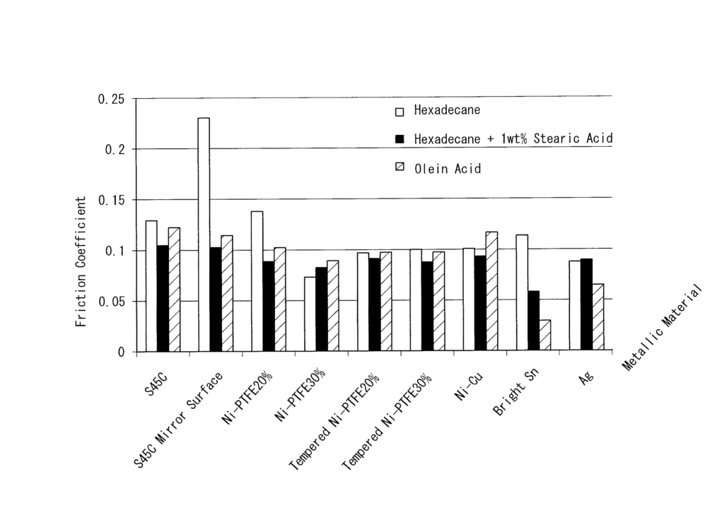
Enfin, on ne peut passer à côté du fait qu’une bonne moitié du brevet est dédiée à la description des différents lubrifiants et traitements de pièces situés à l’intérieur de ces boîtes de vitesses. L’idée des cassettes reliées par une chaîne se situe probablement dans la même optique, ce qui nous laisse penser que Shimano semble avoir apporté un soin tout particulier à la gestion des frottements. C’est en effet un des points faibles des systèmes à engrenages en prise directe, l’autre étant le surpoids de ce type de transmission (entre 200 et 700 g suivant les modèles). Sur ce point, le brevet ne donne d’ailleurs aucune information. Le système semble volumineux d’après les dessins mais on peut supposer que les deux cassettes seront plus légères que des engrenages complets…

Que retenir de ce brevet ? Tout d’abord, il faut rappeler que nombre de brevets n’ont jamais eu d’applications réelles et que ce document ne signifie pas que Shimano va sortir une boîte de vitesses en 2020. A l’heure où la bataille fait rage sur le monoplateau, sortir une boîte de vitesse serait quelque chose de particulièrement osé, ce qui ne ressemble pas vraiment à la stratégie de Shimano de ces dernières années. Qui plus est, la marque devrait s’assurer d’avoir le soutien de plusieurs grandes marques de vélos puisque le design évoqué ici impose d’avoir un cadre spécifique. Cela dit, si le géant japonais travaille sur ce produit, c’est qu’il y voit un intérêt potentiel pour une pratique sportive comme le VTT. La marque dispose en effet déjà de moyeux à vitesses intégrées (Nexus, Alfine) mais leur poids et leur lenteur les cantonnent à une utilisation urbaine uniquement.

La transmission à plusieurs rapports n’a globalement pas évolué depuis 1935.

Si cette boîte de vitesse devait voir le jour, cela révolutionnerait sans aucun doute le secteur de la transmission, jusque là relativement figé. Il y a bien sûr eu du progrès depuis les premiers dérailleurs, mais le concept de transmission à plusieurs rapports n’a globalement pas évolué depuis 1935 et le Super Simplex de Lucien July. De manière générale, toute la conception de nos vélos en serait affectée : équilibre des masses différent, fonctionnement de la suspension à revoir car la courroie n’est pas placée au même endroit qu’une chaîne, plus de dérailleur exposé aux chocs. Serait-ce la prochaine révolution dans le monde de la bicyclette après l’assistance électrique ?

Par Léo Kervran