Innovations | Sram : adieu à la patte de dérailleur ?

Par Léo Kervran -

  • Tech

Innovations | Sram : adieu à la patte de dérailleur ?

Bientôt la fin des pattes de dérailleur sur nos vélos ? Ou du moins leur intégration sur le dérailleur plutôt que sur le cadre ? C’est en tout cas une option à l’étude chez Sram, puisque la marque américaine a déposé récemment plusieurs brevets sur une nouvelle façon de fixer le dérailleur arrière directement sur le cadre. Avant de s’enflammer, voici l’idée en question et toutes les infos pour bien comprendre de quoi il s’agit exactement :

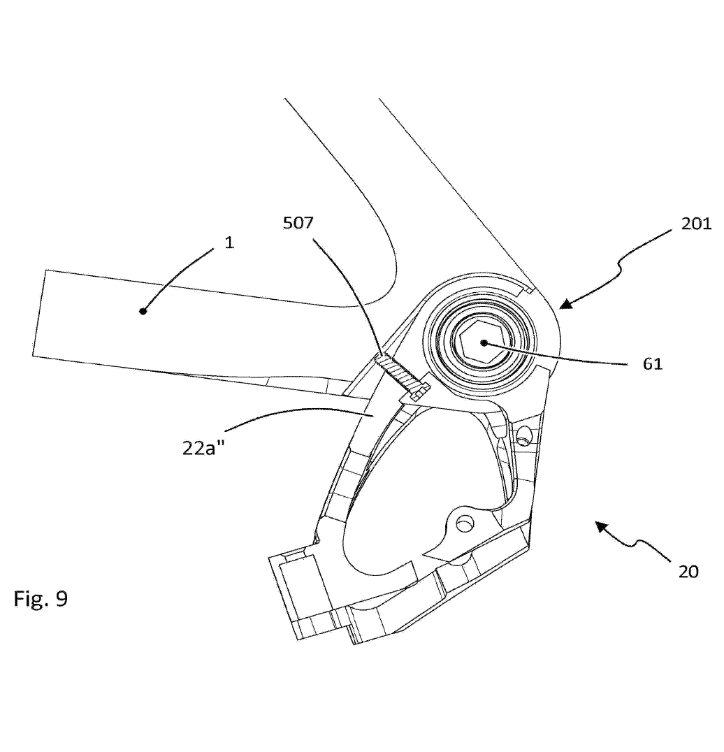
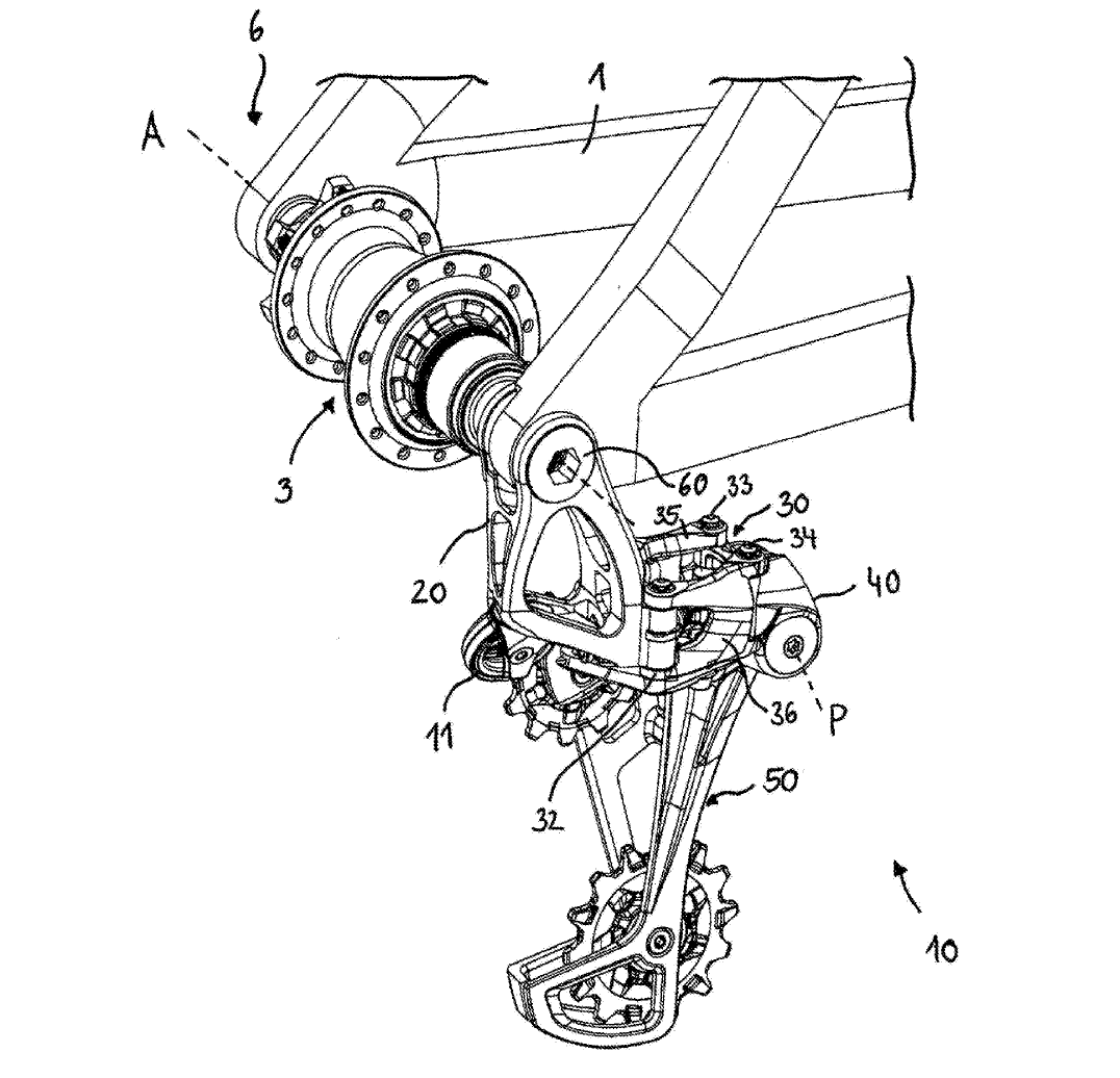
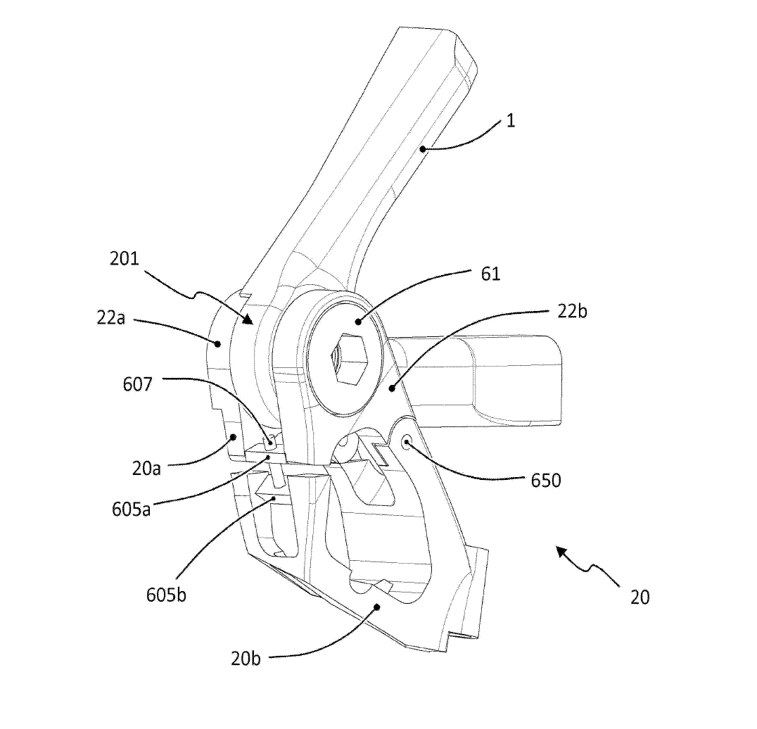
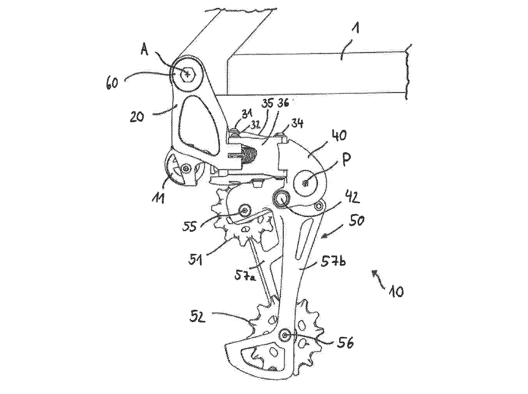
L’idée est simple : revoir la forme de la pièce qui se fixe aujourd’hui sur la patte de dérailleur pour lui permettre de se fixer directement sur le cadre, en l’enveloppant de part et d’autre. Sram fournit peu d’explications sur les raisons de ce développement car un brevet n’a pas vocation à évaluer le bien-fondé d’une solution technique, mais quelques indices se sont tout de même glissés entre les lignes.

L’atout principal de ce système se situerait du côté de la qualité des passages de vitesse. C’est plutôt facile à admettre : on supprime une pièce et on crée une fixation plus solide du dérailleur sur le cadre. Avec l’avènement du mono-plateau et surtout du 12 vitesses, les transmissions modernes sont devenues très sensibles à l’alignement de la patte de dérailleur, bien plus que par le passé. Une légère vrille ou un infime gauchissement et il devient très difficile, sinon impossible, d’obtenir des passages de vitesses et un fonctionnement doux sur chaque rapport. En supprimant la patte et en rigidifiant la liaison avec le cadre, on supprimerait ce problème et on fiabiliserait, d’une certaine manière, la qualité des changements de rapports. Le réglage du dérailleur serait également facilité.

En dehors de cela, le brevet décrit surtout différents modes de réalisation de ce système de fixation, notamment au niveau du placement de la vis d’englobée (réglage de la distance entre le galet supérieur et la cassette) et de la liaison cadre – axe de roue – dérailleur : écrou, position du filetage, butées…

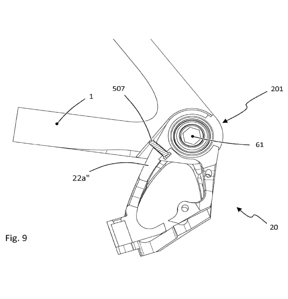
Difficile de l’affirmer à partir de simples dessins, sans cotes ou autres indications techniques, mais on peut facilement imaginer que ce système de fixation du dérailleur sur le cadre présenterait exactement les mêmes formes et dimensions que la patte de dérailleur universelle présentée l’automne dernier par la marque. Cette dernière est rapidement devenue très populaire chez les fabricants de cadre puisqu’elle leur simplifie la vie, autant qu’au pratiquant qui n’a plus à chercher la bonne référence parmi des milliers de modèles puisque celle-ci est désormais identique pour de nombreux fabricants.

Or, si ce système « direct mount » reprend les cotes de la patte de dérailleur au niveau de l’interface avec le cadre, cela signifie qu’une bonne partie des cadres sortis en 2020 et certains modèles 2019 sont déjà compatibles avec ce système de fixation. Un nouveau format qui ne nécessite pas de changer son cadre et qui est « rétro-compatible » avec l’ancien système (on pourra toujours monter une patte de dérailleur Sram sur un cadre équipé d’origine d’un dérailleur « direct-mount ») ce serait plutôt bien vu, en plus d’un très beau coup technique et commercial.

Reste la question du comportement du dérailleur en cas de chute ou d’impact direct : aujourd’hui, la patte de dérailleur fait office de fusible pour se déformer voire casser et éviter ainsi d’abîmer le dérailleur. Que se passera-t-il si elle disparaît ? Les dérailleurs électriques peuvent compter sur la technologie pour les protéger (les Sram AXS sont programmés pour se décaler en cas d’impact, par exemple) mais les dérailleurs mécaniques, qui représentent une écrasante majorité du marché, nous semblent bien plus exposés. Sram n’ayant pas souhaité s’exprimer sur un produit encore en développement, il faudra probablement attendre la sortie (si elle arrive un jour) de ce système pour en savoir plus sur ce sujet.

Comme toujours, on rappellera que ce ne sont que des brevets et pas des fuites d’un projet en cours. Rien n’oblige Sram à exploiter un jour cette technologie et à l’utiliser sur ses dérailleurs. Néanmoins, il faut reconnaître que cela s’inscrirait (très) bien dans le prolongement du lancement de la patte de dérailleur « universelle ». Ce geste à l’allure très désintéressée avait pu surprendre, mais si l’objectif était de préparer le terrain en uniformisant les interfaces cadre-dérailleur, l’un des derniers endroits de nos vélos à ne pas être régi par un standard particulier, c’est plutôt réussi. Si les bénéfices d’un tel montage sur la qualité des changements de rapport sont indiscutables, cette organisation soulève néanmoins des questions quant à la durée de vie des dérailleurs. Faux problème pour certains, préoccupation importante pour d’autres, c’est en tout cas un sujet sur lequel Sram sera très attendu si de tels dérailleurs venaient à être présentés officiellement.

Les brevets complets :

Coaxial Gearshift Mechanism Connection

Electromechanical Derailleur for Coaxial Mounting

Elektromechanisches Schaltwerk zur koaxialen Montage  

Derailleur Hanger

Par Léo Kervran