Innovations | Sram s’essaye aux Durits intégrées

Par Léo Kervran -

  • Tech

Innovations | Sram s’essaye aux Durits intégrées

L’intégration est-elle en passe de révolutionner nos freins ? Le système avec Durits intégrées dans le cintre présenté par Magura il y a plus de deux ans maintenant n’a toujours pas franchi le cap de la commercialisation à grande échelle (un lecteur nous a cependant signalé qu’on les trouve sur certains vélos en location libre-service en Suisse et en Allemagne), mais cela ne fait pas peur à Sram, qui travaille visiblement sur un projet similaire :

On retrouvait les mêmes arguments chez Magura mais le système imaginé par Sram prend une forme radicalement différente. Chez les Allemands, tout est intégré dans le cintre. Le levier, seule pièce à l’extérieur du cintre, est connecté à une tige qui vient appuyer le piston. Quand on freine, on tire sur la tige, la tige pousse le piston et ce dernier fait circuler le liquide de frein dans le circuit. Plutôt simple !

Cependant, cette conception rend tout réglage de la position du levier impossible : le maître-cylindre doit être fixe dans le cintre de façon à ce que la tige travaille toujours parfaitement dans son axe et le levier doit être positionné à un endroit précis pour actionner la tige. La solution proposée par Sram, un peu plus « usine à gaz », permet de contourner une partie du problème et de proposer au moins le réglage de l’inclinaison du levier, en plus de l’ajustement de la course morte (ou point de contact) et de la garde.

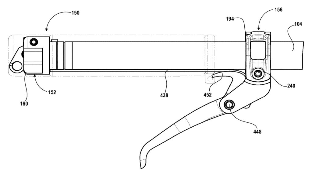
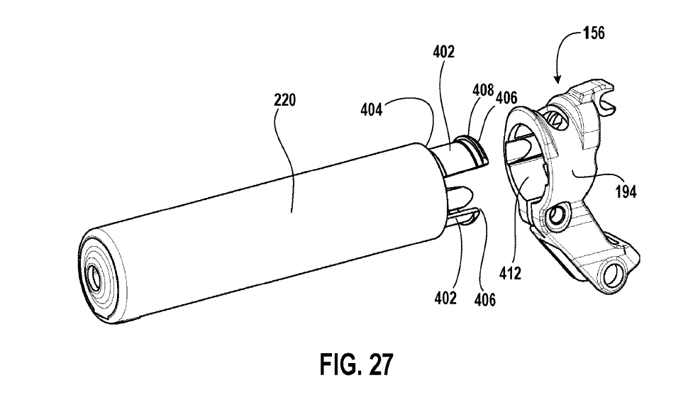
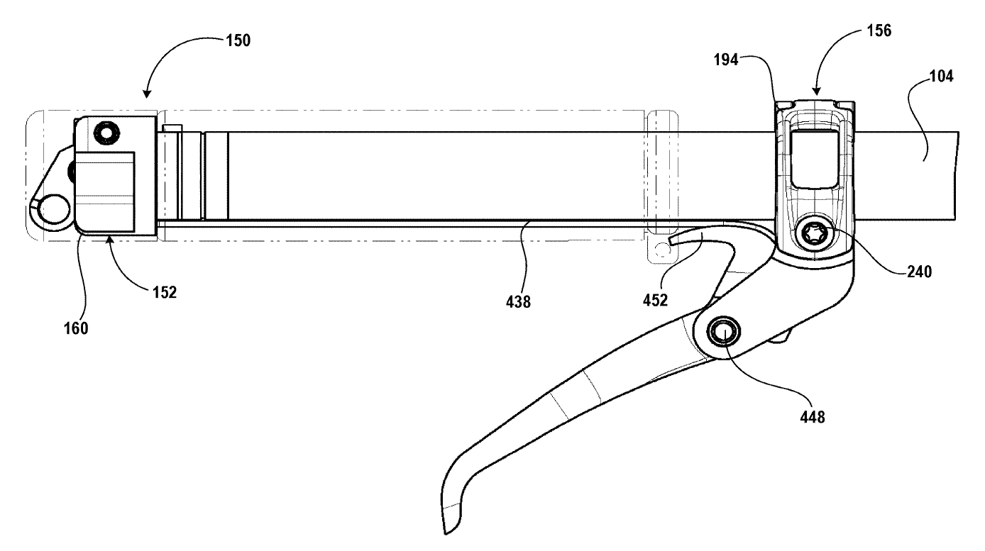
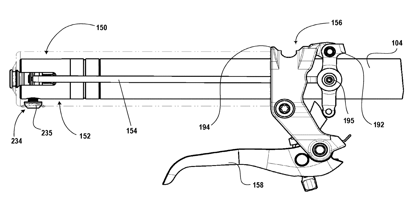
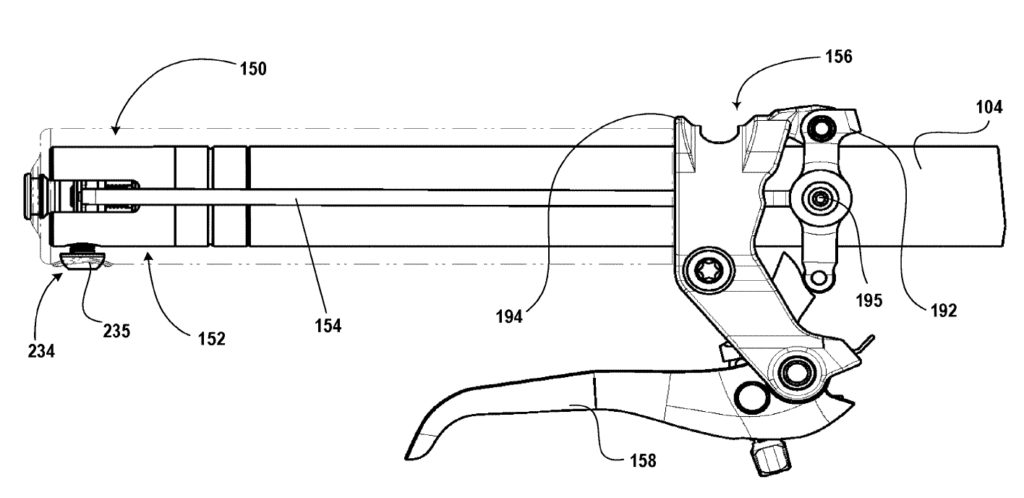
Ici, le maître-cylindre se situe en partie dans le cintre (104) et en partie à l’extérieur, sous la poignée. Le levier tire toujours sur une tige (154) mais cette dernière court tout le long du cintre sous la poignée jusqu’à arriver derrière le maître-cylindre, où elle fait demi-tour pour appuyer sur le piston (162, la longue pièce hachurée au centre) par l’arrière.

Pour actionner cette tige (qui peut également être un câble, Sram évoque les deux possibilités), plusieurs options :

  • elle peut être reliée au levier par un système de cames et de pivot, comme sur l’image de gauche ci-dessus. Quand on freine, le levier fait pivoter la pièce 192 autour de l’axe 195 par l’intermédiaire de la pièce 198. L’axe au centre de l’image, sur lequel est fixé la tige, s’éloigne alors de l’extrémité du cintre, ce qui tire sur la tige. Dans ce mode de réalisation, il peut y avoir deux tiges (plus fiable, meilleure transmission de l’effort) puisque le mécanisme peut très bien être symétrique et se répéter de l’autre côté du cintre.
  • autre façon de faire, plus simple : jouer directement sur la forme du levier. En ajoutant un coude de l’autre côté du pivot et en obligeant la tige (ou le câble) à faire le tour de ce coude, freiner aura pour effet de tirer sur la tige et donc de mettre en marche le reste du système.

Quoi qu’il en soit, on note que le levier est « lié » à la poignée et sa position le long du cintre ne peut pas être ajustée, on peut simplement modifier son angle. C’est logique, si on le décalait vers l’intérieur cela tirerait sur la tige et actionnerait le piston, mais cela signifie aussi que la poignée est spécifique à ce système.

Pour la purge, il faut retirer la poignée de manière à accéder au maître-cylindre et décaler une bague pour découvrir l’orifice de purge. Ensuite, c’est la procédure habituelle.

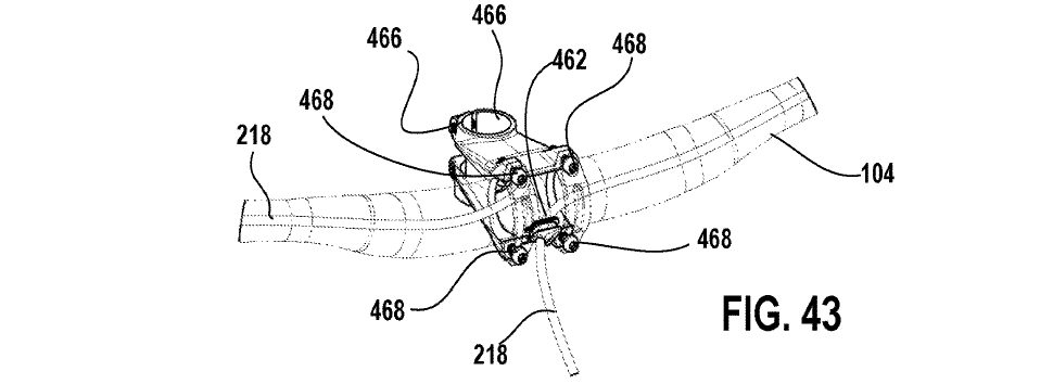
Enfin, un trou est ménagé dans le cintre au niveau de la potence pour permettre aux Durits de continuer leur trajet vers l’étrier. D’après Sram, « le trou unique à travers le guidon [se situe] en dehors des zones critiques de résistance du guidon [et] ne compromet pas l’intégrité structurelle ».

Dans un tout autre domaine, on signalera que Sram fait mention d’une assistance électrique dans ce brevet. Comme toujours, le document décrit le « contexte » de l’invention et explique donc qu’elle est conçue pour être montée sur un vélo. Ce vélo est composé de deux roues, d’une selle, d’un poste de pilotage, d’un système de transmission (avec, ici, un dérailleur sans fil type AXS)… et un moteur avec sa batterie, qui pourrait d’ailleurs alimenter en électricité le dérailleur !

C’est la première fois qu’on voit un VAE dans un brevet de la marque américaine, qui utilise habituellement un vélo classique comme support de ses inventions. Signe qu’un projet est en cours ou simple hasard ? A chacun de se faire son avis…

Le brevet complet

Notre découverte des freins Magura : Prise en main | Magura MCi : les freins intégrés sur le terrain

Par Léo Kervran