Innovations | Stockage dans le cadre : au tour de Canyon ?

Par Léo Kervran -

  • Tech

Innovations | Stockage dans le cadre : au tour de Canyon ?

Dans le domaine du stockage d’accessoires sur le vélo, Specialized et Trek disposent d’un bel avantage sur le reste du marché avec leur système de trappe dans le tube diagonal. Cependant, les deux américains pourraient bien être rejoints sous peu par un autre géant de l’industrie… Canyon vient en effet de publier un brevet dans le domaine et la marque allemande emprunte une voie différente de celle de ses concurrents. Voici comment cela fonctionnerait :

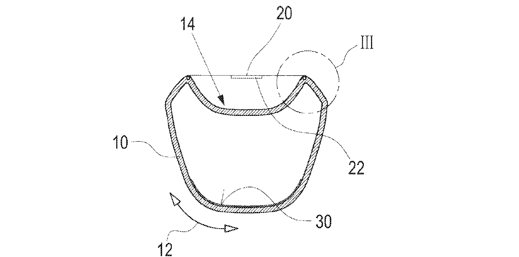
Vue du dessus et détail d’une proposition pour la fermeture du logement, avec une membrane dotée de deux tiges (26) qui viennent se clipser dans les rainures 24.

Côté dimensions, le renfoncement aurait « une longueur d’au moins 10 cm, de préférence d’au moins 15 cm et avec une préférence particulière d’au moins 20 cm » et une profondeur « de préférence de 1 à 3 cm ». Une faible profondeur qui rappelle dans une certaine mesure ce qui est fait autour des porte-bidons de certains cadre aéro de route, presque intégrés dans le tube diagonal pour un maximum d’efficacité.

Le volume peut paraître un peu juste par rapport à la concurrence, mais comme le brevet l’explique, il serait possible de contourner ce problème en utilisant une membrane élastique pour la fermeture. On pourrait ainsi ranger facilement des objets de plus de 3 cm d’épaisseur ou de diamètre dans cet espace. Peut-être pas l’idéal d’un point de vue esthétique et discrétion, mais cela ne devrait pas poser de problème au niveau du maintien.

Le fond serait en matériau antidérapant et Canyon évoque également l’utilisation de pochettes.

En parlant de maintien justement, cette membrane élastique serait complétée par un revêtement « réalisé sous la forme d’une doublure en caoutchouc ou similaire« , qui éviterait aux divers objets stockés dans le renfoncement de bouger voire d’êtres éjectés du cadre. Des éléments de fixation ou d’organisation, comme des cloisons (amovibles ?) ou de petites « ceintures » sont également envisagés.

Enfin, Canyon évoque également l’utilisation d’une pochette pour les petits objets ou la nourriture. Un paragraphe entier est dédié à ces pochettes, ce qui laisse penser que ce n’est pas forcément aussi anecdotique que cela en a l’air et que si ce renfoncement venait à être utilisé sur des cadres Canyon, des pochettes seront probablement de la partie.

Comme toujours, on rappellera que ce document n’est qu’un brevet, c’est-à-dire un document qui confère l’exclusivité d’exploitation d’une invention. Canyon est la seule marque à pouvoir exploiter ce système mais elle peut très bien décider de ne rien en faire, ce n’est pas une fuite d’un projet en cours. Nous serions toutefois curieux de voir ce concept prendre forme, notamment pour sa fermeture via une membrane ou des filins élastiques qui pourraient offrir une grande polyvalence au système. Autre point à éclaircir, la potentielle adaptation sur un cadre en aluminium car le brevet semble pour l’instant ce concentrer sur les cadres en carbone. Affaire à suivre !

Le brevet complet

Par Léo Kervran