Innovations | Un moteur d’e-bike chez Mavic ?

Par Léo Kervran -

  • Tech

Innovations | Un moteur d’e-bike chez Mavic ?

Mavic aurait-elle des projet d’assistance électrique ? Au milieu des brevets de rayon, de jante, de moyeu ou encore de pneu et de divers procédés de fabrication enregistrés au nom de Mavic, quelques documents sortent du rang et attirent l’attention : des brevets sur un moteur électrique. Et il n’y en pas seulement un, ce qui aurait pu être une simple idée de la marque française, ni même deux, mais cinq ! Autant dire que cela fait beaucoup et que le projet semble sérieux. Voici ce qu’on en a retenu :

D’ailleurs, pour être tout à fait honnêtes ça faisait quelques temps que plusieurs de ces documents dormaient dans notre dossier « veille brevets ». Forcément, vu les moments difficiles par lesquels la marque est passée entre 2018 et 2021, on l’imaginait mal se lancer dans un tout nouveau domaine extrêmement concurrentiel et avec des acteurs déjà bien établis. Aujourd’hui en revanche…

Nouvelle direction, nouveau siège, nouvelles (en partie) équipes : la marque semble repartie sur de bonnes bases comme nous avions pu le constater lors de notre dernière visite (lire Visite | Mavic : Construire l’avenir). Par ailleurs, le marché du VAE a le vent en poupe et l’arrivée de nouveaux participants comme TQ montre qu’il n’est peut-être pas aussi difficile de se faire une place qu’on l’imaginait. Serait-ce le bon moment pour Mavic ? On peut aussi imaginer que la marque française s’associe à un autre industriel pour mettre en commun des ressources, à l’image du projet de Valeo et Effigear (lire Cavalerie : un proto e-bike made in France avec Valéo !).

Cette fois, on ne rentrera pas dans les détails les plus techniques. Non pas qu’ils soient trop complexes mais, pour réellement comprendre leur portée, il faudrait d’abord revenir sur le fonctionnement d’un moteur électrique de VAE, ce qui serait un peu fastidieux. Pour celles et ceux que ça intéresse, vous trouverez comme d’habitude les liens pour les documents complets en bas de cet article.

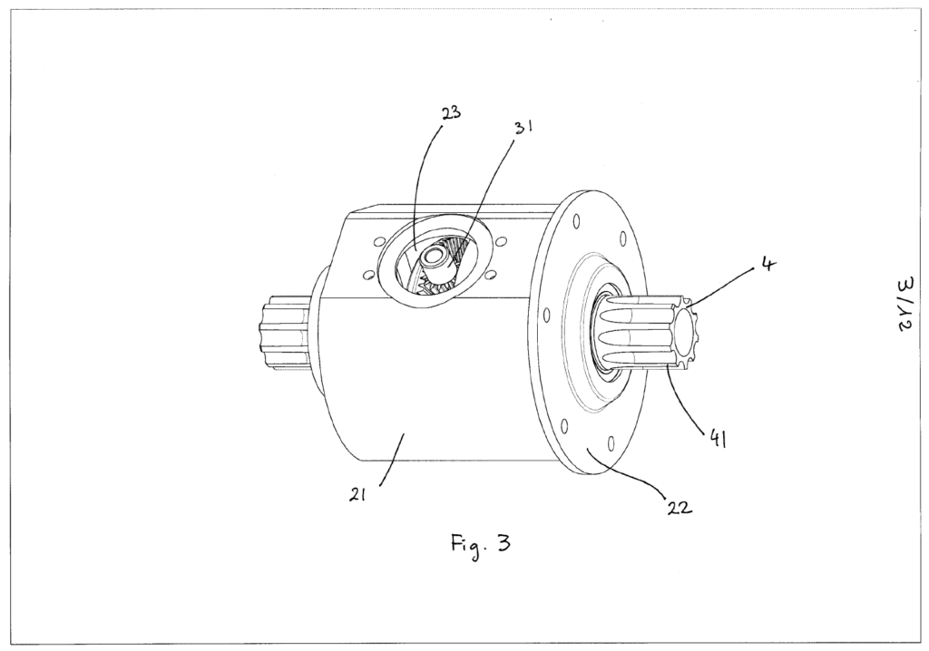
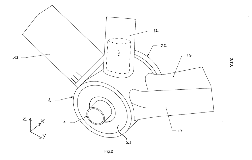
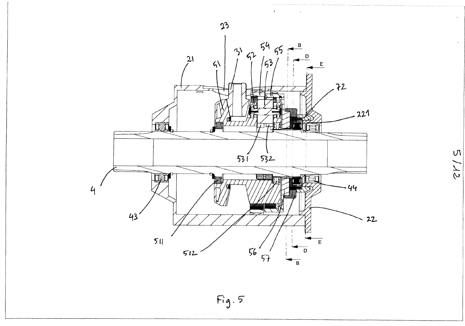
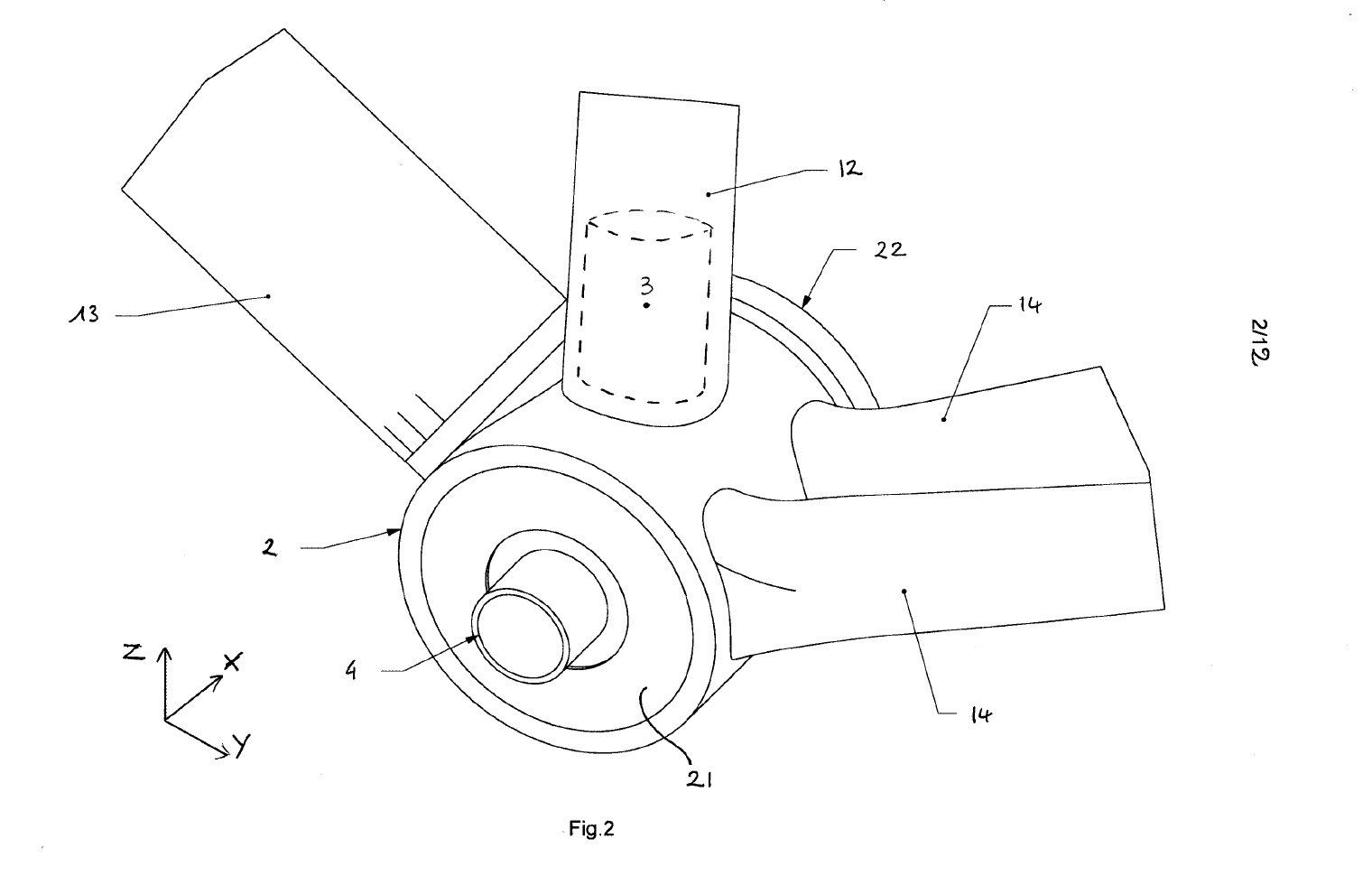
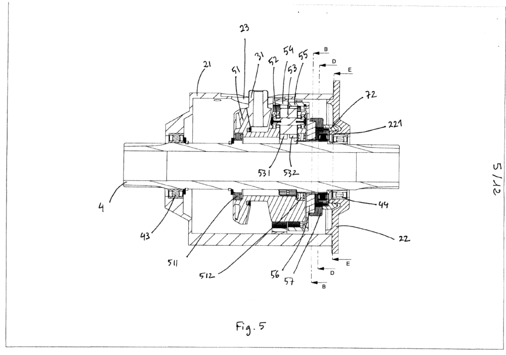
Une partie de ces brevets s’intéressent au réducteur, cet élément qui sert à… réduire la vitesse du moteur avant d’envoyer la puissance au pédalier. C’est une des pièces les plus importantes du système car c’est elle qui permet de transformer la puissance du moteur, à couple faible mais vitesse de rotation très élevée (plusieurs milliers de tours par minutes) en une puissance exploitable par nos jambes, à couple relativement important mais vitesse beaucoup plus faible (on pédale généralement à une fréquence entre 60 et 120 tours/minute).

D’autres ont pour objet les mécanismes d’engagement et de roue libre. C’est une autre composante essentielle du système, celle qui assure que l’assistance offre des sensations naturelles quand on pédale au-dessus de la limite des 25 km/h, lorsqu’on s’arrête de pédaler ou lorsqu’on tourne les pédales en sens inverse, que ce soit pour replacer ses pieds en descente ou au moment de ranger le vélo.

La problématique de la discrétion est au cœur de ces deux brevets. Comme on peut le constater sur les dessins, l’encombrement est minimal mais l’objectif est explicite dès le début :« l’objectif de l’invention est également de proposer un dispositif d’assistance qui présente un fonctionnement silencieux et à frottements extrêmement réduits. L’objectif de l’invention est également de proposer un dispositif d’assistance qui soit le moins volumineux et le moins lourd possible. » On peut aussi lire que « l’invention permet de donner au cycle à assistance électrique un aspect esthétique proche, voire identique, à celui d’un cycle à propulsion uniquement musculaire ».

A cet égard, difficile de ne pas rapprocher ce projet, s’il existe réellement, du TQ HPR-50. Pas technologiquement, car le moteur allemand utilise sa propre technologie elle aussi en procédure de brevet, mais dans la philosophie et l’apparence. Pour quelle application ? Sans surprise, aucun des deux brevets ne communique de données de couple ou de puissance en sortie : ce n’est pas l’objet de ces inventions. En revanche, on remarque que le brevet de réducteur prévoit deux versions, l’une pour un moteur dans le moyeu et l’autre pour un moteur au pédalier. De quoi envisager tous les usages, aussi bien urbain que route ou VTT.

Pour l’anecdote, on notera que tous ces brevets partagent le même inventeur : Jean-Pierre Mercat, le « Géo Trouvetou » de Mavic. Avec plus de 130 brevets à son nom, l’homme est particulièrement prolifique et au fil des ans, peu de domaines du vélo ont échappé à ce qu’on pourrait appeler sa « folie créatrice ». Certains de ses premiers brevets appartiennent ainsi à Look et datent de la fin des années 1980… Vous voyez où on veut en venir ? S’il n’est pas l’inventeur de la pédale automatique moderne proprement dit, il a fait partie de ceux qui ont rapidement amélioré le système.

Les brevets complets :

Réducteur pour système d’assistance pour cycle

Dispositif d’assistance électrique pour vélo

Dispositif d’assistance électrique pour vélo (2)

Roue équipée d’un moteur d’assistance

Système d’assistance électrique pour cycle

Par Léo Kervran