Innovations | Shimano : une tige de selle télescopique sans fil qui descend toute seule ?

Par Léo Kervran -

  • Tech

Innovations | Shimano : une tige de selle télescopique sans fil qui descend toute seule ?

Souvenez-vous, en fin d’année dernière nous vous présentions plusieurs brevets qui indiquaient que Shimano travaillait sur un groupe et une tige de selle télescopique sans fil.  La marque japonaise vient de déposer deux nouveaux brevets très intéressants et surtout, bien plus détaillés que les précédents…

Pour être très précis, le système reprend et affine une idée dévoilée dans un brevet datant de 2011, c’est-à-dire l’antiquité pour une tige de selle télescopique : une époque où le câble de commande passait encore en extérieur. Ici, l’intérieur du plongeur de la tige de selle serait fileté à la manière d’un écrou tandis que le fourreau comporterait une section de tige fileté capable de tourner sur elle-même. Un moteur, fixé en bas du fourreau, ferait tourner la tige fileté dans l’écrou, faisant ainsi monter ou descendre la tige de selle selon le sens de rotation. Un système très simple et normalement fiable, qui pourrait théoriquement être ajusté à n’importe quel niveau.

Ce système rappelle l’idée de BMC, qui avait imaginé pour son team de XC une solution avec un réservoir d’air comprimé pour permettre à la tige de selle de descendre toute seule. Le principe de Shimano est probablement un peu plus lourd mais aussi bien plus durable, puisqu’il n’y a pas besoin de recharger un quelconque réservoir.

La tige de selle pourrait fonctionner de manière tout à fait classique ou de façon plus automatisée

Côté électronique, le brevet évoque deux modes de fonctionnement. La tige de selle pourrait fonctionner de manière tout à fait classique et entièrement manuelle mais aussi de façon plus automatisée, dans un mode qu’on pourrait qualifier de semi-automatique. Dans ce cas, le pilote aurait préalablement configuré via un écran de contrôle, un logiciel ou une application la hauteur de selle voulue. Selon la pression sur la commande (voir plus loin), la tige de selle monterait ou descendrait toute seule pour rejoindre la position cible.

Cette organisation pourrait permettre à chacun d’avoir 3 positions parfaitement adaptées à ses besoins, ou d’ajuster facilement la hauteur de selle si le débattement est un peu trop grand.

Enfin, le document aborde dans les détails la gestion de la batterie : seuil d’alerte, type d’alerte (sonore et/ou visuelle), fonctionnement de la tige de selle selon le niveau de batterie et le type de commande (semi-automatique ou manuelle) ou encore position dans laquelle la tige de selle doit s’arrêter si on tombe à court de batterie en pleine sortie. Il est bien précisé que ces notes concernent la tige de selle mais, dans les faits, cela peut être facilement transféré à une transmission (sur quel rapport s’arrêter ?) ou une suspension (quel mode ?).

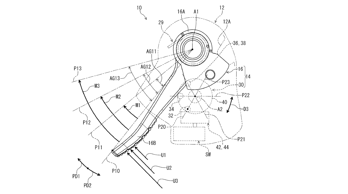
Le second brevet détaille le fonctionnement d’une commande à distance sans fil. Visuellement, elle est très similaire à un shifter mécanique Shimano et se fixe sur le collier de frein de la même manière. Les schémas présentent une version prévue pour être montée à gauche du cintre mais le brevet précise bien que le principe peut être adapté à une commande pour le côté droit. Elle ne fonctionnerait que sur des mouvements de poussée, avec une action différente selon qu’on pousse le levier uniquement sur le début de course ou sur toute sa course. En effet, le levier appuierait alors sur des interrupteurs différents, ce qui génèrerait un signal différent et des instructions différentes.

Quant aux applications, le document précise clairement que tout est ouvert. Cette commande pourrait donc aussi bien servir pour « un dérailleur, une tige de selle, des suspensions, une assistance ou toute autre commande de contrôle ».

Autre élément très intéressant, la commande pourrait intégrer deux petits générateurs d’électricité qui fonctionneraient grâce à la pression et/ou aux vibrations générées par le mouvement du levier, avec un matériau piézoélectrique par exemple (qui produit un courant lorsqu’il est déformé). Ce n’est pas une simple phrase glissée à la fin d’un paragraphe mais bien une fonctionnalité décrite en détails, ce qui laisse supposer que Shimano est confiant dans la faisabilité d’un tel système. Plus de risque d’avoir une pile ou une batterie à plat au départ de la sortie !

Les axes de travail principaux de Shimano semblent être l’automatisation et l’interconnexion, exactement ce qui fait défaut à l’AXS de Sram pour l’instant. Cependant, le fabricant japonais ne se contente pas de se placer là où son concurrent est absent et présente aussi des concepts potentiellement révolutionnaires comme cette commande sans pile. Nous étions restés relativement prudents en conclusion de nos précédents articles, car nombre de brevets n’ont jamais donné lieu à des applications industrielles. Vu les précisions que ces deux nouveaux documents contiennent, on peut commencer à envisager sérieusement une mise sur le marché… Reste à savoir quand.

Les brevets complets :

Tige de selle 2011

Tige de selle 2020

Commande 2020

Nos deux articles précédents :

Innovations | Shimano : bientôt une tige de selle électrique et un groupe sans fil ?

Innovations | Shimano : le sans fil se précise !

Par Léo Kervran