Innovations | Un dérailleur à chape déportée chez Shimano ?
Par Léo Kervran -
A quoi joue Shimano ? Alors que Sram s’est sérieusement engagé dans la voie du dérailleur en montage direct sans patte de dérailleur et a déjà levé le voile sur certains produits en compétition, la marque japonaise semble travailler dans l’ombre et brouille les pistes. Après une obscure demande de brevet sur un dérailleur en montage direct, la voici qui dépose une autre requête pour un système complètement différent : une chape déportée avec trois galets au total pour réduire l’encombrement du dérailleur et la longueur de chaîne. Explications :
SR Suntour en proposait déjà dans les années 1980, mais c’est surtout de l’ordre de l’anecdote historique car, sur le plan technique, le dérailleur restait très proche des modèles conventionnels et n’a donc pas grand-chose à voir avec celui du document présenté par Shimano.
En revanche, si vous avez autour de la quarantaine ou plus il est fort probable que les dessins de cette demande de brevet vous rappellent autre chose : l’EGS Up Cage. Petite marque française née en 1996, EGS s’était fait remarquer avec des innovations exceptionnelles pour l’époque : la poignée tournante SyncroShift qui commandait simultanément le dérailleur avant et le dérailleur arrière, et le dérailleur Up Cage, conçu autour d’une chape horizontale pour réduire son exposition aux branches et rochers.
Malheureusement pour EGS, l’histoire n’a pas duré longtemps et la marque n’a pas passé le cap des années 2000, mais les brevets ne sont pas tombés dans l’oubli pour autant. Shimano a en effet saisi l’occasion pour racheter les droits de ces documents et quelques années plus tard, on a ainsi vu arriver une fonction baptisée SyncroShift sur les transmissions électriques Di2…
Quant au dérailleur Up Cage, Shimano y fait directement référence dans la section Contexte du brevet qui nous intéresse aujourd’hui. Toutefois, elle indique également que dans sa configuration de l’époque la technologie n’est pas assez performante pour les cassettes modernes et les grandes gammes de rapport qu’on utilise aujourd’hui en VTT. Qu’est-ce qui peut alors pousser la marque japonaise à les ramener sur le devant de la scène aujourd’hui ?
Qu’on se le dise : à l’heure actuelle, le dérailleur est un produit plutôt performant. C’est relativement léger, le passage de rapport est rapide, les frottements sont moins importants qu’avec d’autres systèmes de transmission et ils acceptent de mieux en mieux les changements de vitesse en charge. Aux yeux de beaucoup leur inconvénient principal est aujourd’hui leur fragilité.
Dans la bataille permanente qui oppose Shimano à Sram, il est assez amusant de remarquer que les deux marques semblent s’attaquer simultanément à ce problème mais avec deux approches complètement différentes : chez Sram, on renforce avec un montage direct (lire Spyshot | Un nouveau Sram Eagle AXS en approche ?!) tandis que chez Shimano, on décale pour réduire l’exposition.
Sur le même sujet, ne peut s’empêcher de penser au Supre Drive de Cédric Eveleigh qu’on a découvert l’année dernière (voir Supre Drive : le dérailleur réinventé). Le projet du Canadien est beaucoup plus poussé et nécessite de revoir toute la conception du vélo mais la problématique est toujours la même et à certains égards, le concept n’est pas si éloigné de celui présenté ici par Shimano. Nous avons contacté Cédric et comme il nous l’a justement fait remarquer, il est peu probable que le Supre Drive ait influencé le géant japonais car la date de priorité de la demande de brevet est le 15 mars 2021, soit huit mois avant l’annonce publique de son invention.
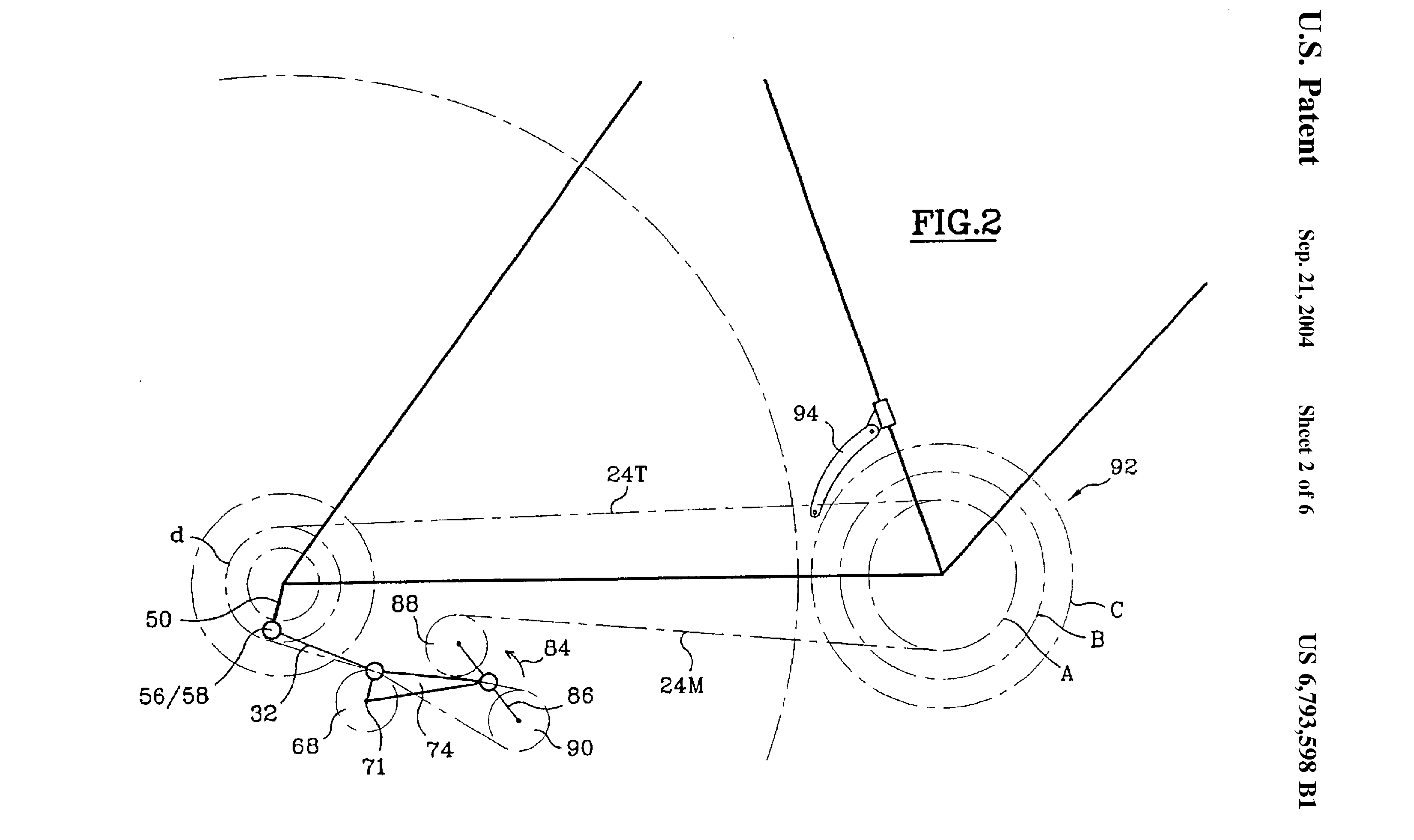
Retour à nos moutons : qu’est-ce que ce dérailleur ? Pour faire très simple, Shimano a conservé le galet guide (celui du haut sur une chape classique) à son emplacement habituel mais on a désormais deux galets de tension montés sur un support déporté vers l’avant. Lorsque la chaîne sort du galet guide, celui qui sert au changement de vitesse, elle descend vers le galet de tension inférieur puis remonte et s’enroule autour du galet supérieur pour retourner vers le plateau.
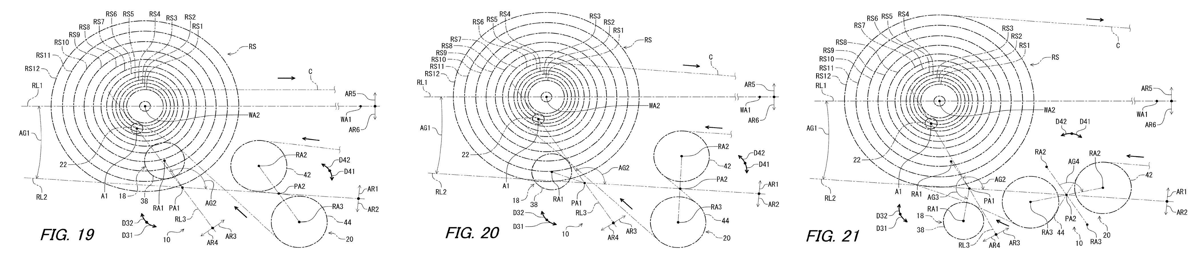
L’intérêt principal est d’augmenter la distance au sol comme démontré sur le dessin ci-dessus : la distance DS6 et ses variantes suivant le pignon engagé (DS61/62/63) sont toujours plus grandes que leur équivalent sur un dérailleur classique, la distance DS7 et ses variantes suivant le pignon engagé (DS71/72/73). Qui plus est, on peut imaginer en se représentant une ligne de chaîne que cette chape déportée viendrait se ranger gentiment sous la base. L’encombrement en largeur serait donc minimal.
Autre avantage : si une branche vient se prendre dans la chaîne, la conception du support pour les deux galets de tension (forme et articulation par rapport au trajet de la chaîne) fait que la chape se détendrait, au lieu de se tendre encore plus comme sur un dérailleur un classique. En relâchant la tension, on réduit les efforts et on réduit encore le risque de tout casser.
En revanche, on peut s’attendre à plus de frottements dans le dérailleur. Comme Cédric Eveleigh nous l’expliquait, « la friction dans les transmissions à dérailleur se produit principalement lorsque la chaîne s’engage et se désengage avec les poulies et pignons, donc le plus de poulies, le plus de friction ». C’est l’une des grosses différences avec sa transmission, qui ne compte que deux galets comme un dérailleur classique.
Pour maintenir la chape sous tension et le support des deux galets dans une position idéale le reste du temps, Shimano a imaginé un système de câble et de poulies. Une poulie (repère 46) serait installée sur le support du galet guide (support 36, galet 38) et l’autre (repère 48) sur le support des deux galets de tension (support 40, galets 42 et 44). Ainsi, lorsque le support 36 pivote en se décalant dans la cassette, la poulie 46 vient tirer sur le câble et appliquer une tension sur le câble, qui se répercute sur le support 40 par le biais de la poulie 48. Cet effort étant dans le sens opposé à celui exercé par la chaîne, la chape est sous tension. Reste à voir comment ce système se comporterait en cas de branche dans le dérailleur.
Avantage bonus de cette conception, elle nécessite moins de longueur de chaîne. C’est illustré sur le schéma ci-dessus avec les longueurs DS8 et ses variantes pour le nouveau dérailleur face aux longueurs DS9 et leurs variantes pour le dérailleur classique : une longueur DS8 est toujours inférieure à la DS9 équivalente. Moins de longueur de chaîne, c’est bien sûr moins de poids (ce qui permettrait de compenser une partie du surpoids probable du dérailleur) mais aussi moins de pertes d’énergie.
Contrairement au brevet de dérailleur en montage direct dont on vous parlait il y a peu (lire Innovations | Du dérailleur en montage direct chez Shimano ?), très flou et qui donnait surtout l’impression que la marque cherchait à nous jeter de la poudre aux yeux, celui-ci est d’une précision exceptionnelle. Angles vis-à-vis du parallélogramme, chape, relations de distances et de tailles entre les différents éléments… On ne serait pas surpris d’apprendre que ce dérailleur approcherait déjà la phase de production.
A ce propos, on note que le Shadow+ est toujours de la partie et semble identique à ce qu’on connaît aujourd’hui avec un petit levier de débrayage et une tension variable suivant la position de la chape, c’est-à-dire suivant le pignon engagé.
Shimano évoque aussi plusieurs variations pour le système de poulies notamment, avec des formes différentes, deux câbles… Le fabricant indique aussi qu’on pourrait se passer d’un des deux galets de tension pour simplifier l’ensemble mais si le brevet entier se concentre principalement sur un fonctionnement avec trois galets, on peut imaginer que ce serait moins performant.
En revanche, aucune mention n’est faite d’un système électrique. C’est plutôt rare dans les derniers brevets ou demandes de brevets Shimano tant la marque semble se concentrer sur le Di2 le reste du temps, mais cela montre peut-être que la transmission à câble trouve encore grâce à ses yeux, contrairement à Sram qui semble de plus en plus vouloir tourner la page…
Comme d’habitude, on rappelle que ce document n’est qu’une demande de brevet, c’est-à-dire une demande pour avoir l’exclusivité d’exploitation d’une invention. Peu importe l’issue de la requête, Shimano n’a aucune obligation de l’exploiter et ce concept pourrait très bien rester dans les tiroirs pour 20 ans de plus, comme les documents liés à l’EGS Up Cage l’ont déjà fait. Ceci dit, on ne vous cache pas qu’on aimerait beaucoup voir ça sur les prochains groupes VTT de la marque japonaise… Après avoir réagi en retard sur le monoplateau et manqué le coche de l’électrique, Shimano part cette fois dans une direction complètement différente de Sram et c’est justement ce qui est intéressant. Après des dizaines d’années d’immobilité ou presque, ça bouge dans le monde du dérailleur !
Le brevet complet : Bicycle Rear Derailleur




