Innovations | Un nouveau groupe Shimano Di2 13 vitesses ?

Par Romain Viret -

  • Tech

Innovations | Un nouveau groupe Shimano Di2 13 vitesses ?

Un groupe 13 vitesses a récemment été dévoilé dans une demande de brevet déposée par Shimano. Dérailleurs électriques avec choix d’alimentation, batteries amovibles intégrées, suppression des pattes de dérailleur ou encore futur écosystème ? On vous explique :

En 2020, Campagnolo avait lancé son groupe Ekar destiné à la pratique gravel avec la particularité d’être en mono plateau accompagné d’une cassette de non pas 11 ou de 12 vitesses, mais 13 vitesses. De par son tarif élevé et sa complexité d’entretien, le groupe Ekar ne semble pas avoir fait l’unanimité chez les pratiquants depuis sa sortie et jusque-là, que ce soit avec Sram ou Shimano, la grande majorité de nos montures VTT ou Gravel sont équipées de transmissions en 11 ou 12 vitesses. Pourtant, Shimano semble vouloir redonner sa chance à cette vitesse supplémentaire.

 

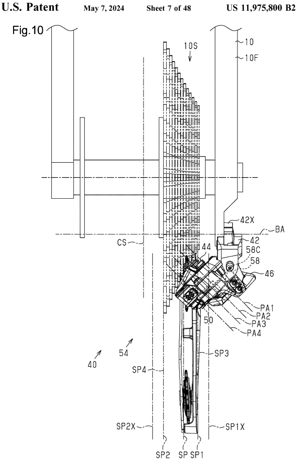
Dans une demande de brevet datant du 7 mai 2024, Shimano présente un dérailleur arrière électrique. Aucune description n’est faite sur la cassette mais pourtant il semble clairement s’agir d’ une cassette 13 vitesses sur les schémas.

 

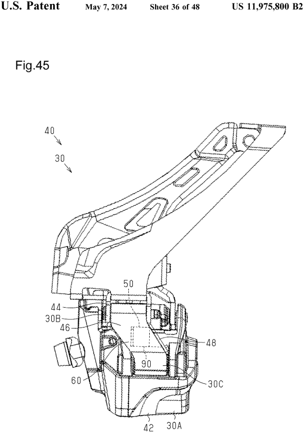
Habituellement, les groupe Di2 (transmissions électriques Shimano) fonctionnaient à l’aide d’une batterie déportée et intégrée dans le cadre du vélo ou la tige de selle, commune aux dérailleurs avant et arrière. Il était aussi possible sur les VAE d’avoir les dérailleurs arrière directement alimentés via la batterie du système d’assistance. Dans son brevet, Shimano annonce que ses nouveaux dérailleurs arrière (selon la version) pourront toujours être alimentés de la même manière sur les VAE, mais qu’il sera également possible de les alimenter via une batterie amovible directement intégrée dans le dérailleur et non plus déportée.

Actuellement, la batterie déportée et commune aux deux dérailleurs est la seule limite d’un groupe de transmission complètement sans fil chez Shimano. Les manettes communiquant déjà par Bluetooth avec les dérailleurs sur les groupes 105, Ultegra ou Dura-Ace.

Dans ce brevet, que ce soit dans le dérailleur avant ou arrière, il s’agit de batteries amovibles, mais il semble qu’il soit également possible de les recharger directement sur le vélo sans enlever la batterie.

Il y a quelques années, Shimano avait également déposé un brevet sur un lien entre le dérailleur arrière et le cadre sans patte de dérailleur (Du dérailleur en montage direct chez Shimano ?). Il semble que Shimano n’aient pas abandonné l’idée puisque l’on retrouve ce même lien qui se place principalement face au concurrent Sram et ses transmissions T-Type.

 

Pour finir, on trouve dans le brevet quelques schémas représentant les nouveaux dérailleurs au sein d’un écosystème. Shimano ne semble pas développer particulièrement ces points dans la description des schémas mais les mentions « Electric Suspension », « Electric Adjustable Seatpost » et « Electric Brake » nous ont interpellés. Futur écosystème proche du système de suspension Sram Flight Attendant ou encore intégration d’un système de freinage concurrent de l’ABS Bosch ? Affaire à suivre

Nouvelles palettes et shifter VTT sans fil

Pour accompagner cette demande de brevet de dérailleur, Shimano dévoile deux autres demandes brevets assez intéressantes.

 

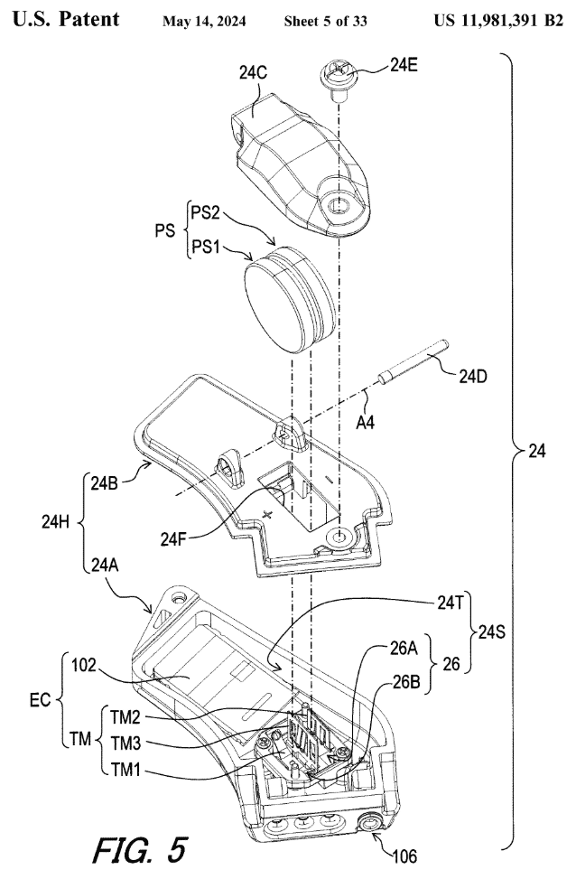
Dans une de ces demandes, on peut apercevoir une manette de transmission ressemblant à celle du groupe GRX Di2 11 vitesses, mais avec une seule palette de changement de vitesses assez proche de la forme actuelle des palettes sur les manettes Sram. Autre subtilité, l’ensemble des composants électroniques de la manette se trouvent soit à l’intérieur de la palette, soit sur le dessous de la manette avec l’apparition d’un bouton sur le même emplacement.

 

Pour finir, Shimano dévoile dans la seconde demande, une manette très ressemblante à l’actuel shifter XT Di2 (photo de droite) mais avec la particularité d’intégrer deux piles boutons pour ainsi fonctionner sans fil.

Les brevets complets : Dérailleur pour véhicule à propulsion humaine / Appareil et système de commande de bicyclette / Dispositif de commande pour véhicule à propulsion humaine

Par Romain Viret